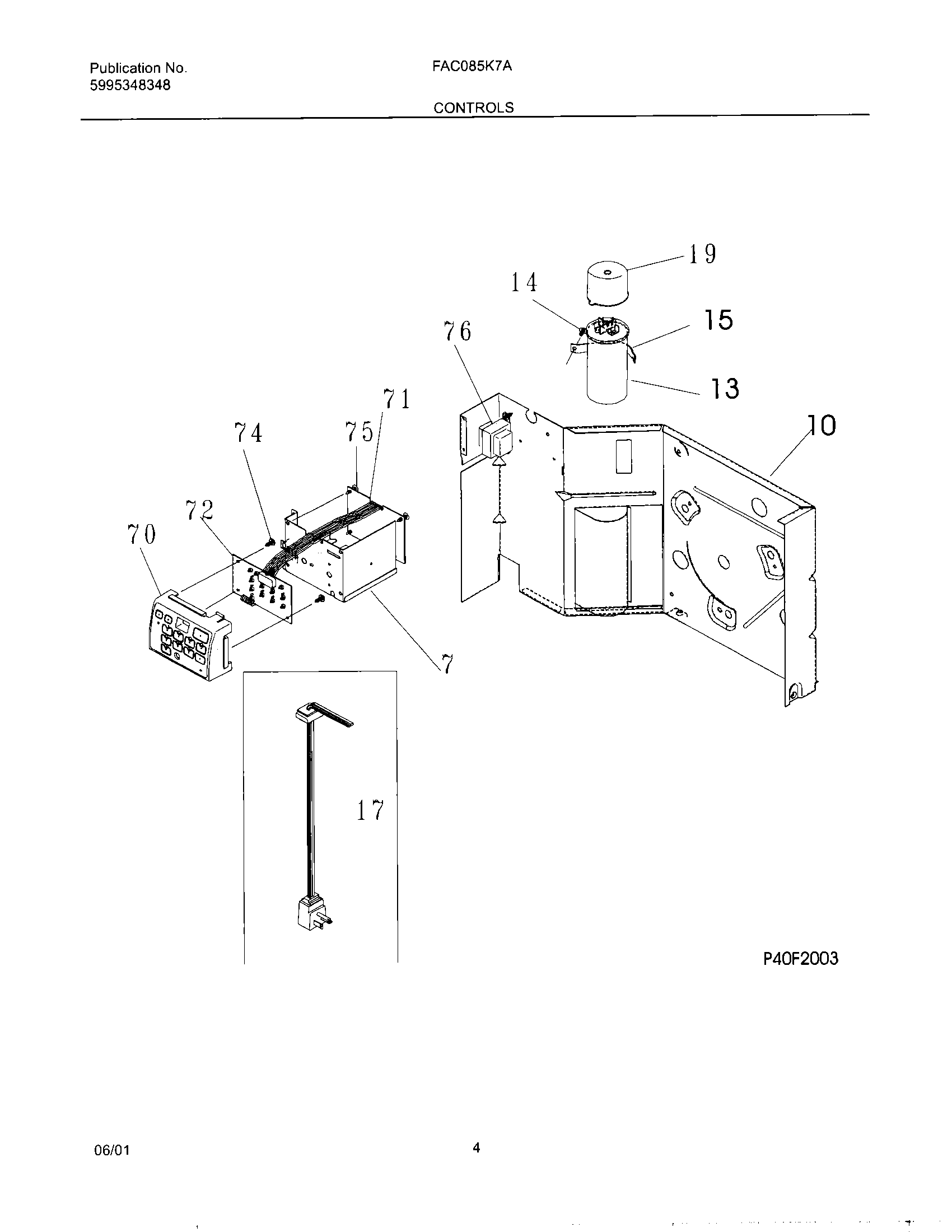
FAC085K7A1 05 – CONTROLS