| NI | WCI 309112501 |
| NI | WCI 5303290357 |
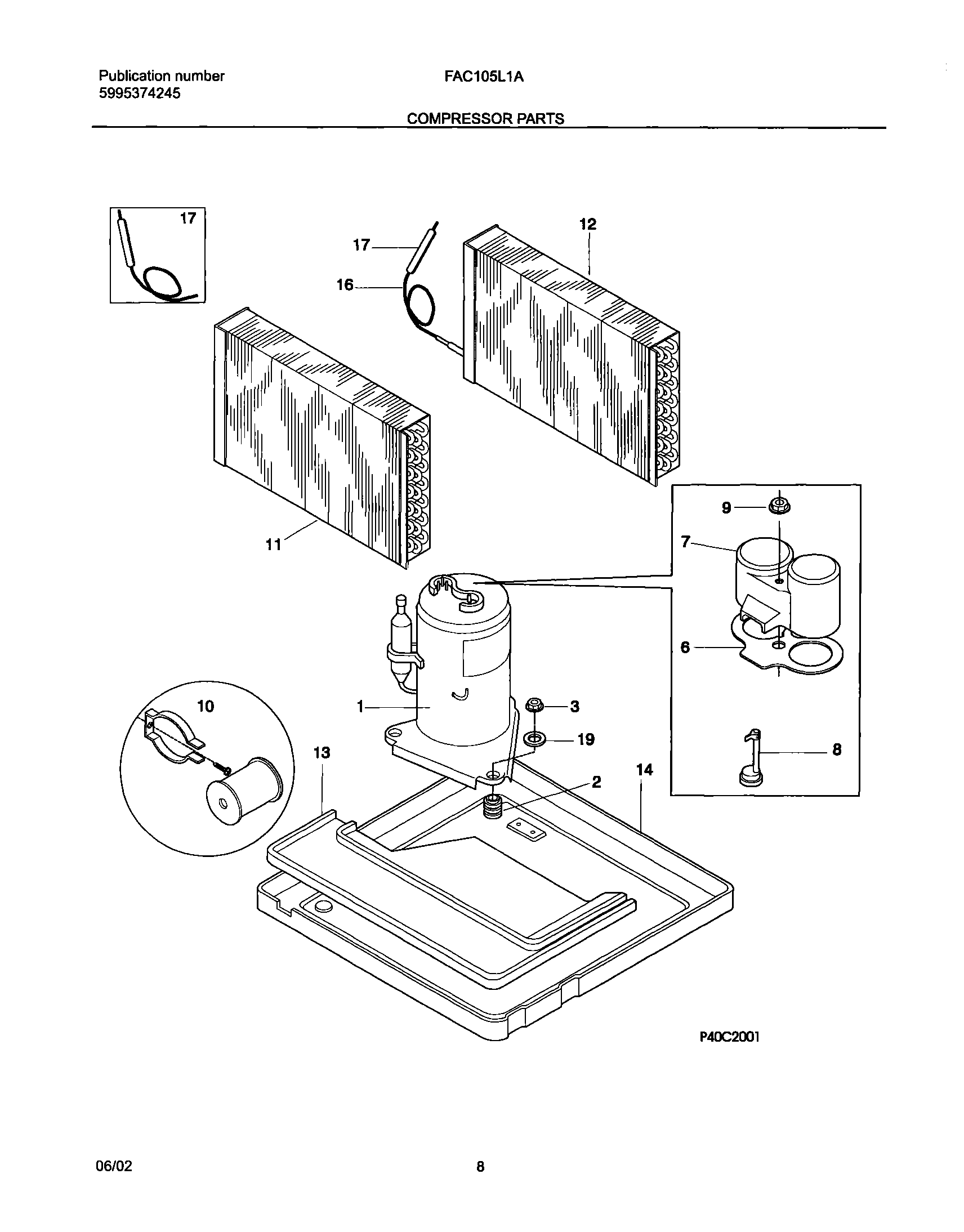
| 1 | WCI 5304426969 |
| 2 | GROMMET,COMPRESSOR MTG ,(3) |
| 3 | NUT,COMPRESSOR MTG ,(3) |
| 6 | GASKET-TERMINAL |
| 7 | COVER-TERMINAL |
| 8 | WCI 5304426968 |
| 9 | WCI 5303211017 |
| 10 | WCI 5303317601 |
| 11 | WCI 309619315 |
| 12 | WCI 309645405 |
| 13 | Tray,evap drip |
| 14 | Base,compressor mt. ,with studs |
| 16 | WCI 5304403237 |
| 17 | 5300265301 Frigidaire Air Conditioner P1 Filter Drier |
| 19 | WASHER,COMPRESSOR MTG |