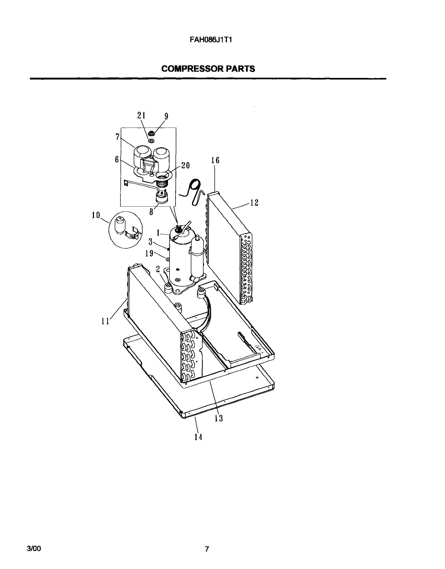
FAH086J1T1 09 – COMPRESSOR