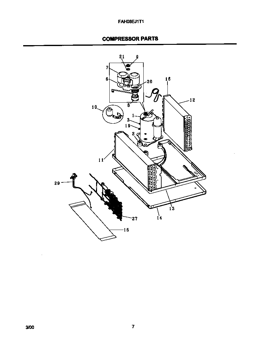
FAH08EJ1T1 05 – COMPRESSOR PARTSadmin2025-04-26T09:03:07+00:00FAH08EJ1T1 05 – COMPRESSOR PARTS ProductsPositionProduct1WCI 53033002002GROMMET,COMPRESSOR MTG ,(3)3NUT,COMPRESSOR MTG ,(3)6WCI 53030020357COVER-TERMINAL8WCI 53032110269WCI 530330173411WCI 30963230312WCI 30963250314WCI 30962870215WCI 30962950116CAPILLARY TUBE175300265301 Frigidaire Air Conditioner P1 Filter Drier19WASHER,COMPRESSOR MTG20SPRING-OVERLOAD21WCI 530329551627Heater,1250 W ,115 V29WCI 530330704730VALVE-DRAIN (NON-ILLUSTRATED)32NUT-HEATER