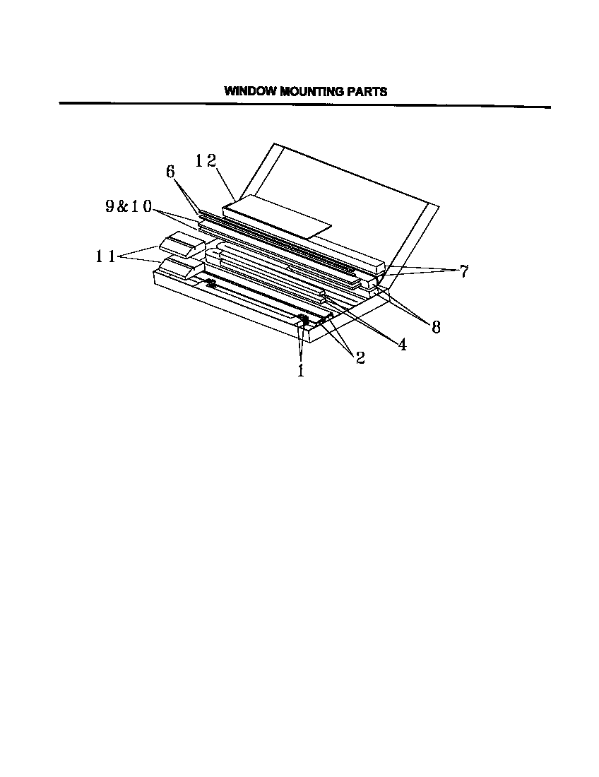
FAH08EJ1T1 06 – MOUNTING PARTSadmin2025-04-26T09:03:27+00:00FAH08EJ1T1 06 – MOUNTING PARTS ProductsPositionProduct1WCI 3096286032WCI 3096286043WCI 53044093034WCI 53044093045WCI 53033010386WCI 53044093057WCI 53044093068WCI 53044093079WCI 530440930810WCI 530440930911WCI 530440931012WCI 530440931113WCI 30933510115WCI 309636002