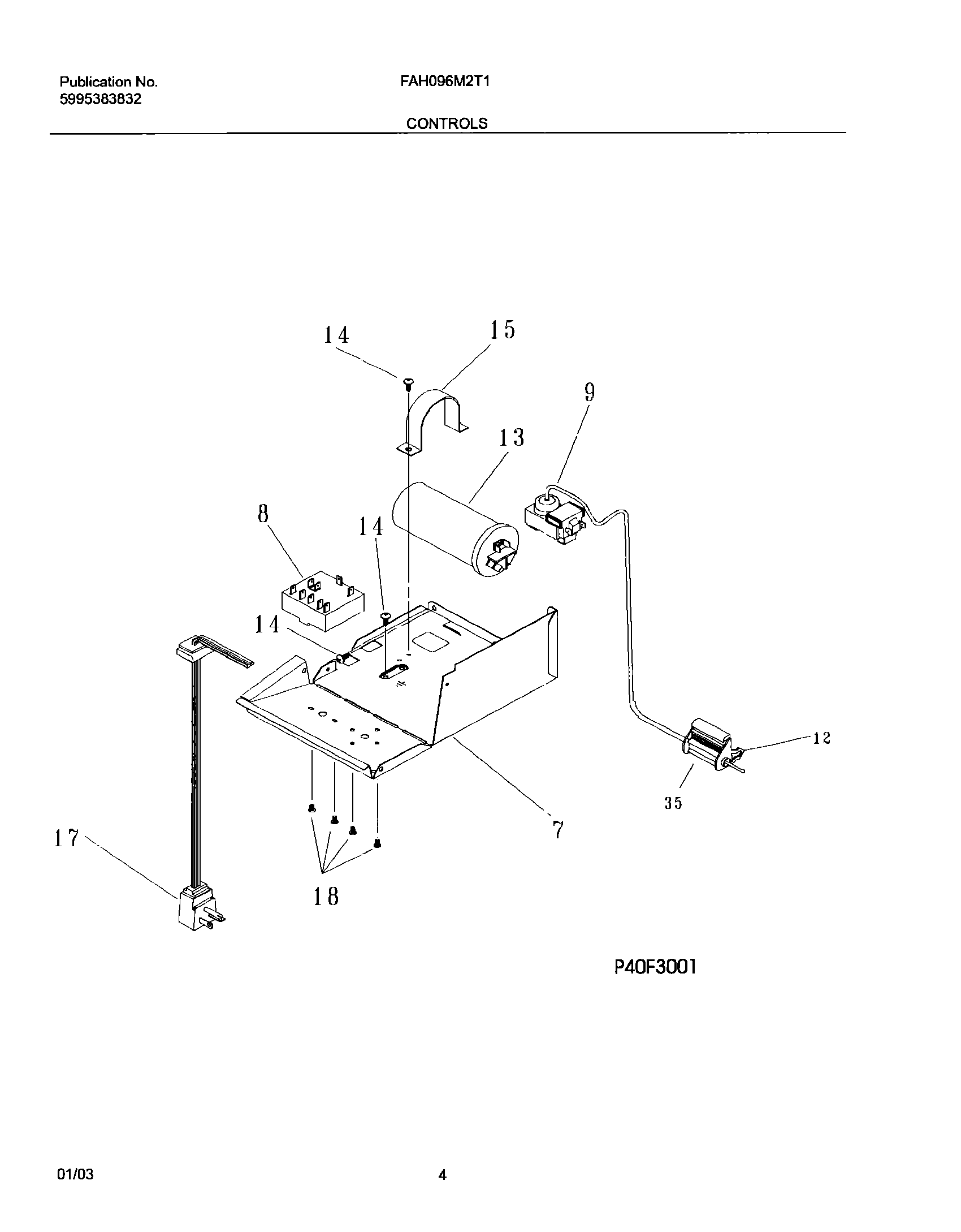
FAH096M2T1 05 – CONTROLS