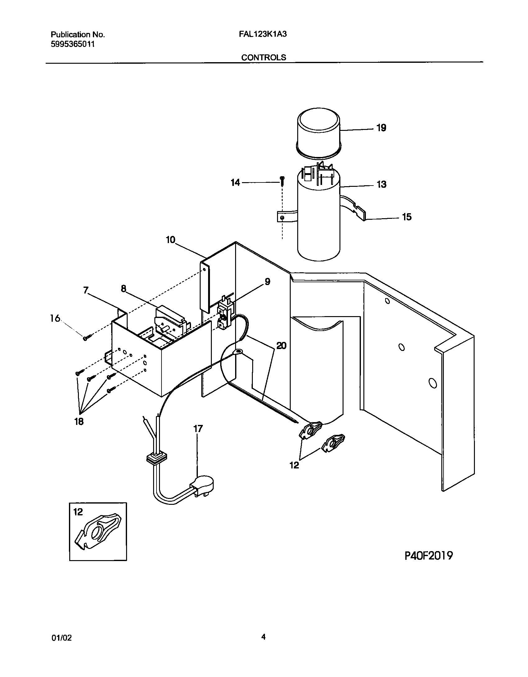
FAL123K1A3 05 – CONTROLS