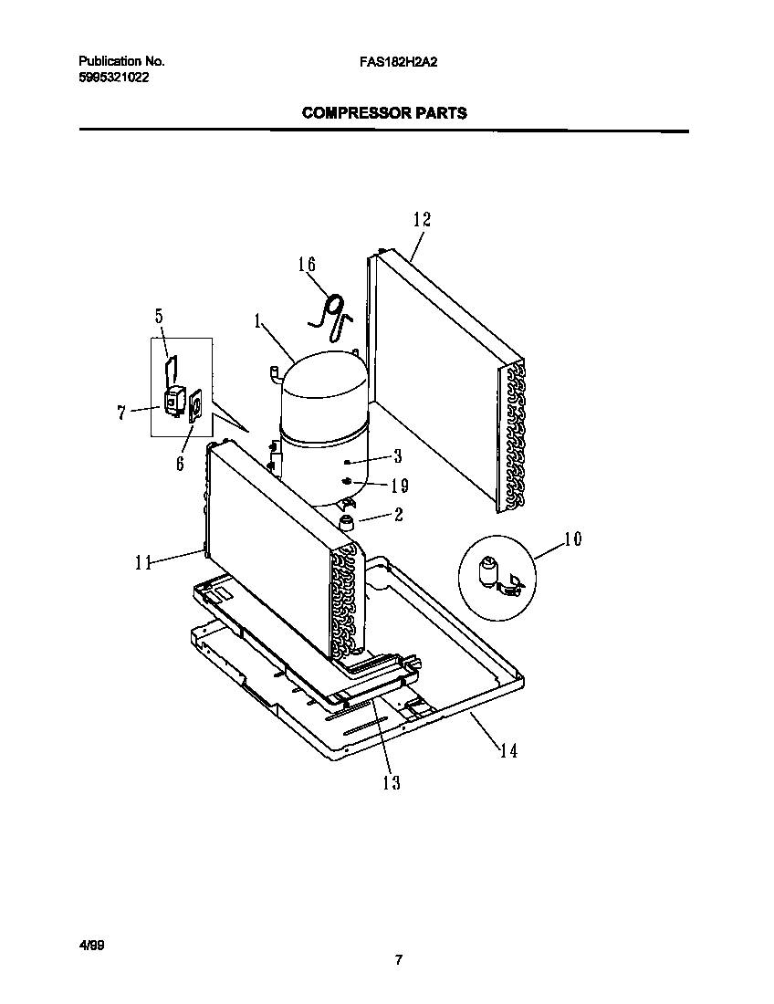
FAS182H2A2 05 – COMPRESSOR PARTSadmin2025-04-26T09:04:39+00:00FAS182H2A2 05 – COMPRESSOR PARTS ProductsPositionProduct1WCI 53044032682GROMMET - COMPRESSOR, 33NUT,COMPRESSOR MTG ,(3)5CLAMP - COVER6WCI 53030020687COVER, TERMINAL11WCI 30963410112WCI 530440327313WCI 30962350114WCI 30963290116Capillary Tube,45 inch long ,cut to length19WASHER,COMPRESSOR MTG