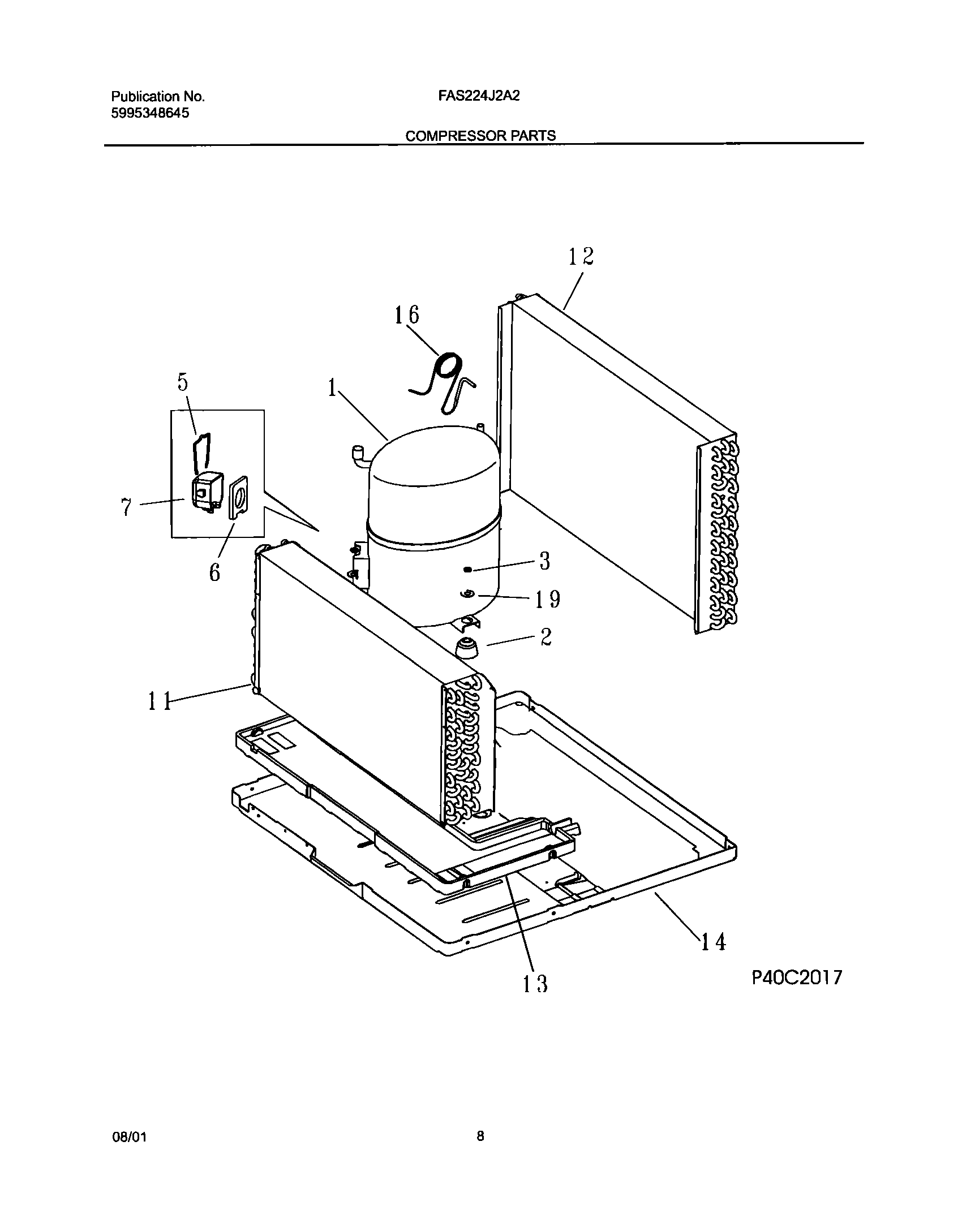
FAS224J2A2 09 – SYSTEMadmin2025-04-26T09:04:02+00:00FAS224J2A2 09 – SYSTEM ProductsPositionProductNIWASHER,COMPRESSOR MTG1Compressor,H29B24UABCX2GROMMET - COMPRESSOR, 33NUT,COMPRESSOR MTG ,(3)5CLAMP - COVER6WCI 53030020687COVER, TERMINAL11WCI 30963420112Condenser-assy,3R/15FPI13WCI 30962350114WCI 30963290616CAPILLARY TUBE19WCI 309112501