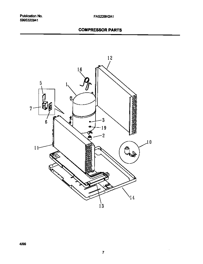
FAS226H2A1 05 – COMPRESSOR PARTSadmin2025-04-26T09:04:24+00:00FAS226H2A1 05 – COMPRESSOR PARTS ProductsPositionProduct1Compressor,H29B24UABCX2GROMMET - COMPRESSOR, 33NUT,COMPRESSOR MTG ,(3)5CLAMP - COVER6WCI 53030020687COVER, TERMINAL11WCI 30963420112Condenser-assy,3R/15FPI13WCI 30962350114WCI 30963290116CAPILLARY TUBE19WASHER,COMPRESSOR MTG