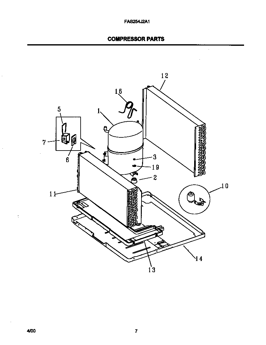
FAS254J2A1 05 – COMPRESSOR PARTSadmin2025-04-26T09:03:55+00:00FAS254J2A1 05 – COMPRESSOR PARTS ProductsPositionProduct1Compressor2GROMMET - COMPRESSOR, 33NUT,COMPRESSOR MTG ,(3)5CLAMP - COVER6WCI 53030020687COVER, TERMINAL11WCI 30963420112WCI 530330671913WCI 30962350114WCI 30963290619WASHER,COMPRESSOR MTG