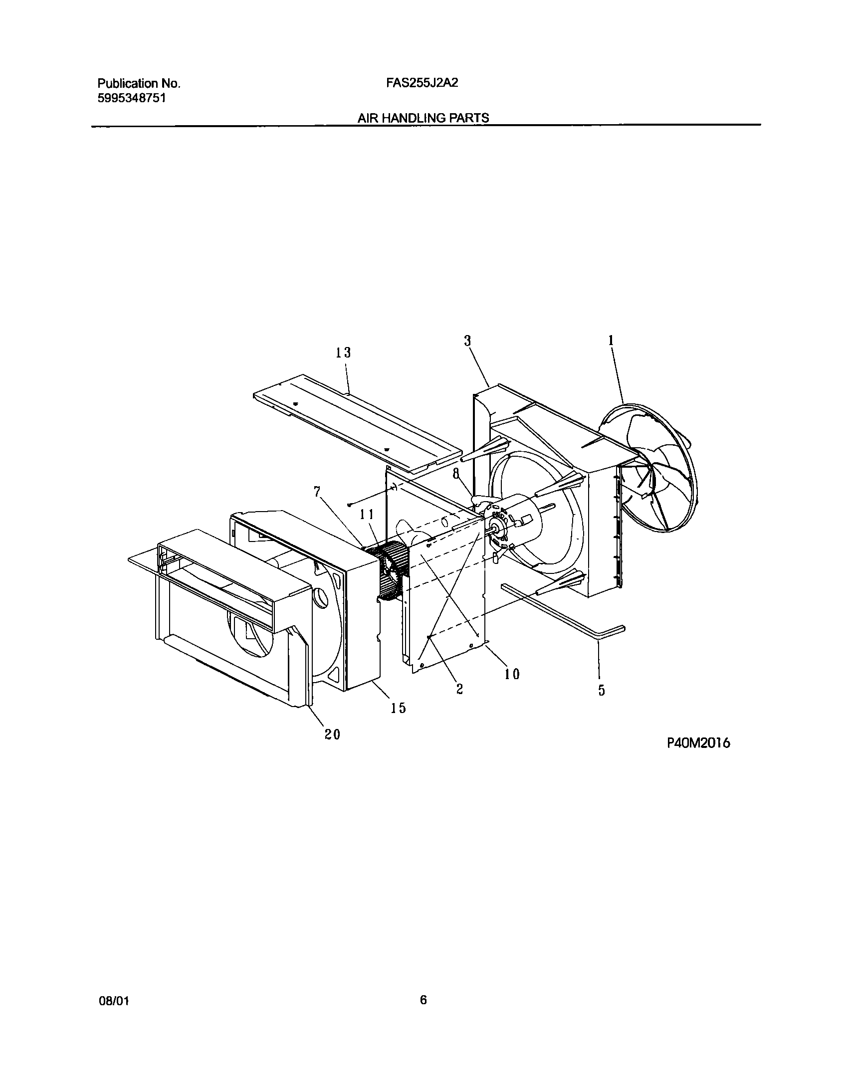
FAS255J2A2 07 – AIR HANDLINGadmin2025-04-26T09:04:14+00:00FAS255J2A2 07 – AIR HANDLING ProductsPositionProduct1WCI 53033214402131202300 Frigidaire Screw3WCI 3096232015SEAL,FAN HOUSING ,LOWER7134178901 Frigidaire Screw8No.WCI 30963060410WCI 30962340111WCI 30963300113WCI 30963030115WCI 30963010120WCI 309630201