| Owners Manual |
| Instructions, Installation |
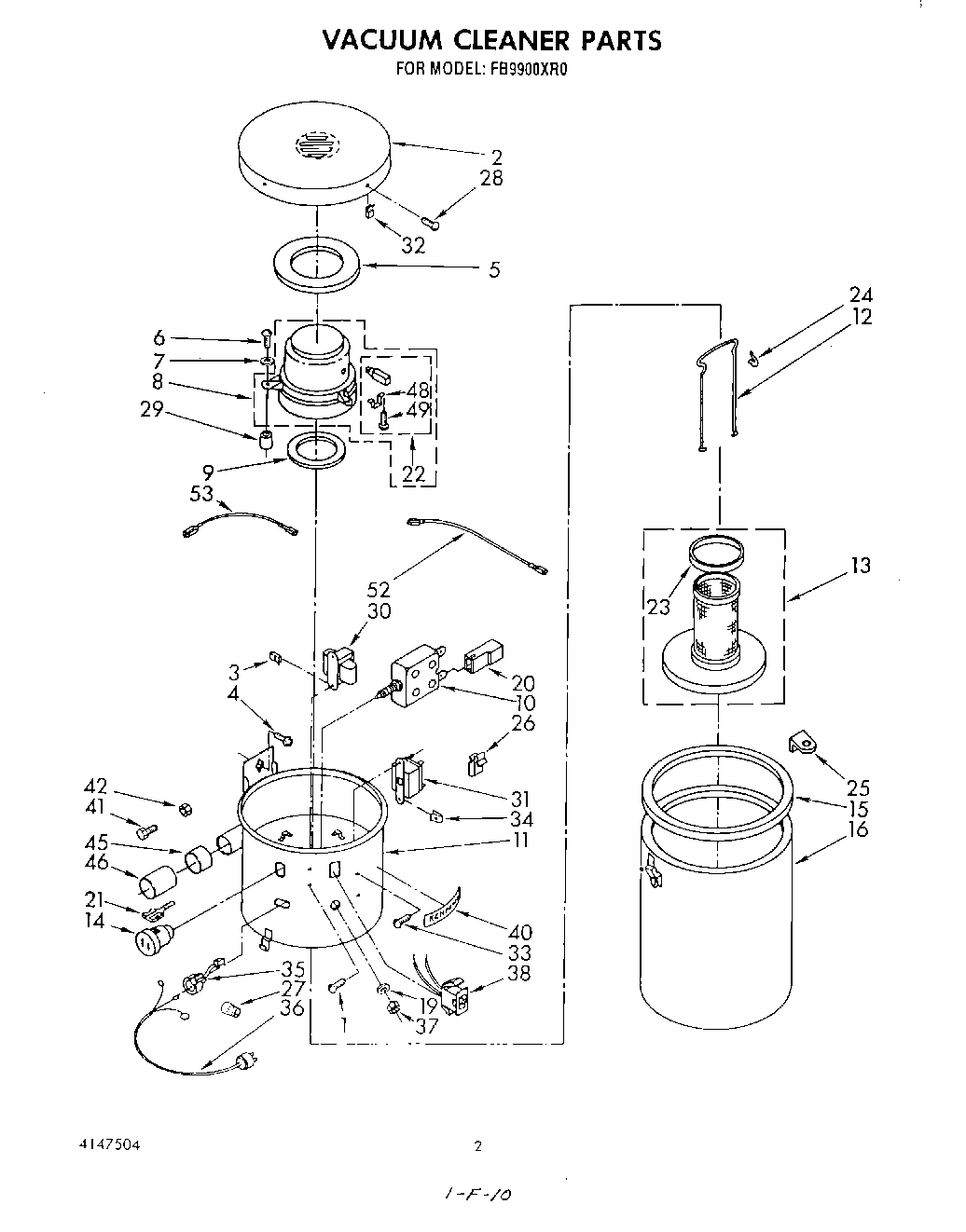
| Repair Parts List |
| 2 | Cover |
| 3 | Nut, Speed (2) |
| 4 | Screw, Lag 1/4 x 1-3/4 (2) |
| 5 | Seal, Motor (Top) |
| 6 | Screw, 10-12 x 1-3/4 (3) |
| 7 | Washer |
| 8 | Motor |
| 9 | Seal, Motor (Bottom) |
| 10 | Breaker, Circuit (Includes Illus. 37) |
| 11 | Cylinder Assembly |
| 12 | Retainer, Filter |
| 13 | Filter & Disk |
| 14 | Terminal |
| 15 | Gasket, Dirt Receptacle |
| 16 | Receptacle, Dirt |
| 19 | Washer 7/16 |
| 20 | Housing, Receptacle (2) |
| 21 | WP285432 Whirlpool Terminal |
| 22 | Kit, Brush Replacement |
| 23 | Gasket, Filter |
| 24 | Clip, Retainer (2) |
| 25 | Clip, Filter Retaining |
| 26 | Clip, Wire |
| 27 | Connector, Closed End |
| 28 | WP488787 Whirlpool Refrigerator Screw |
| 29 | Spacer, Motor Bracket (3) |
| 30 | Transformer |
| 31 | Relay, Motor |
| 32 | Nut, Speed (4) |
| 33 | Screw, 6-20 x 3/8 (2) |
| 34 | Nut, Speed (2) |
| 35 | Strain Relief |
| 36 | Cord, Power |
| 37 | Nut, Switch (2) |
| 38 | Switch, Rocker |
| 40 | Nameplate |
| 41 | Screw, 8-32 x 3/8 (2) |
| 42 | WP486255 Whirlpool Air Conditioner Nut |
| 45 | Bushing |
| 46 | Coupling, 2`` |
| 48 | Clamp (2) |
| 49 | 303776 Whirlpool Dishwasher Screw |
| 52 | Lead, Wire (7``) |
| 53 | Lead, Wire (4) |