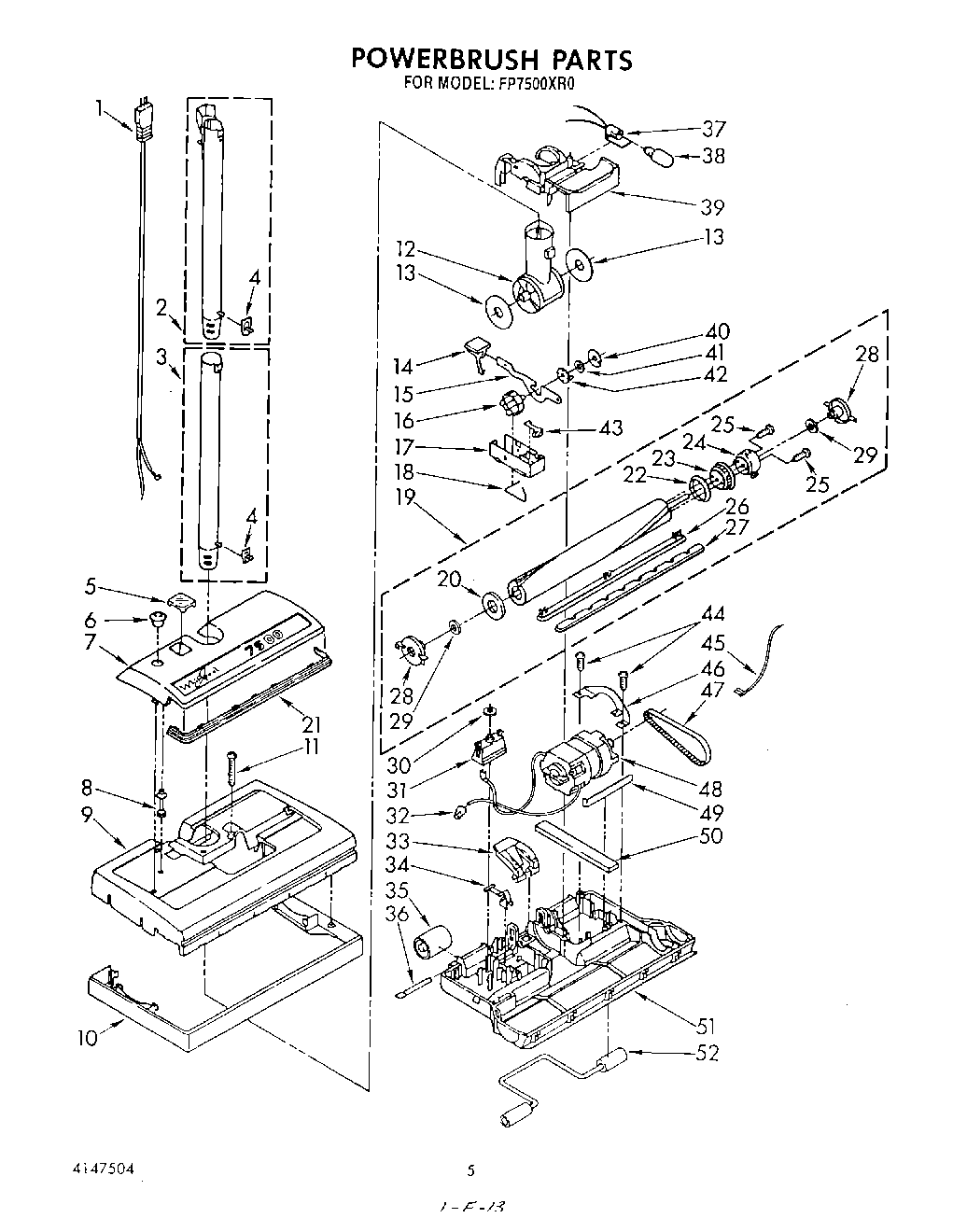
| 1 | Cord & Plug |
| 2 | Wand & Cord Mount Assembly |
| 3 | Wand (2) |
| 4 | Spring, Wandlock |
| 5 | Lens, Height Adjustment |
| 6 | Bezel |
| 7 | Cover, Nozzle |
| 8 | Button Extension |
| 9 | Nozzle |
| 10 | Bumper |
| 11 | Screw, 8-18 x 1-7/8 (2) |
| 12 | Swivel |
| 13 | Seal, Swivel |
| 14 | Pad, Footpedal |
| 15 | Lever, Indicator |
| 16 | Cam, Indicator |
| 17 | Block, Indicator |
| 18 | Spring, Assist |
| 19 | Bearing & Brush Assembly |
| 20 | Guard, String |
| 21 | Lens, Front |
| 22 | Flange, Brush Sprocket |
| 23 | Sprocket, Brush |
| 24 | End Brush |
| 25 | Screw, No.6-20 x 1`` (2) |
| 26 | Brush, Beater |
| 27 | Bar, Beater |
| 28 | Bearing & Housing Assembly (2) |
| 29 | Washer (2) |
| 30 | Seal, Overload |
| 31 | Overload Protector |
| 32 | Wire Connector |
| 33 | Release, Handle |
| 34 | Lifter |
| 35 | Roller (2) |
| 36 | Axle, Rear (2) |
| 37 | Socket, Bulb |
| 38 | Bulb, Light (Pkg. of 2) |
| 39 | Swivel Cap |
| 40 | Washer, Thrust |
| 41 | Washer, Foam |
| 42 | Catch, Indexing |
| 43 | Catch, Ratchet |
| 44 | WP488787 Whirlpool Refrigerator Screw |
| 45 | Lead, Wire |
| 46 | Bridge, Motor |
| 47 | Belt, Cogged (Pkg. of 1) |
| 48 | Motor |
| 49 | Spring, Motor Adjustment |
| 50 | Gasket |
| 51 | Base |
| 52 | Front Axle Assembly |