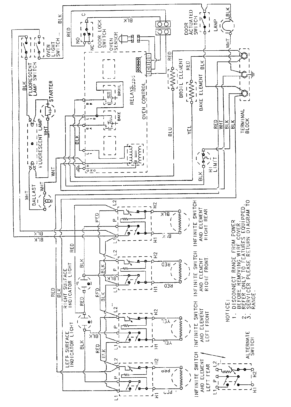
FCE10500W 06 – WIRING INFORMATIONadmin2025-04-26T09:29:56+00:00FCE10500W 06 – WIRING INFORMATION ProductsPositionProductNIMAY 15001304