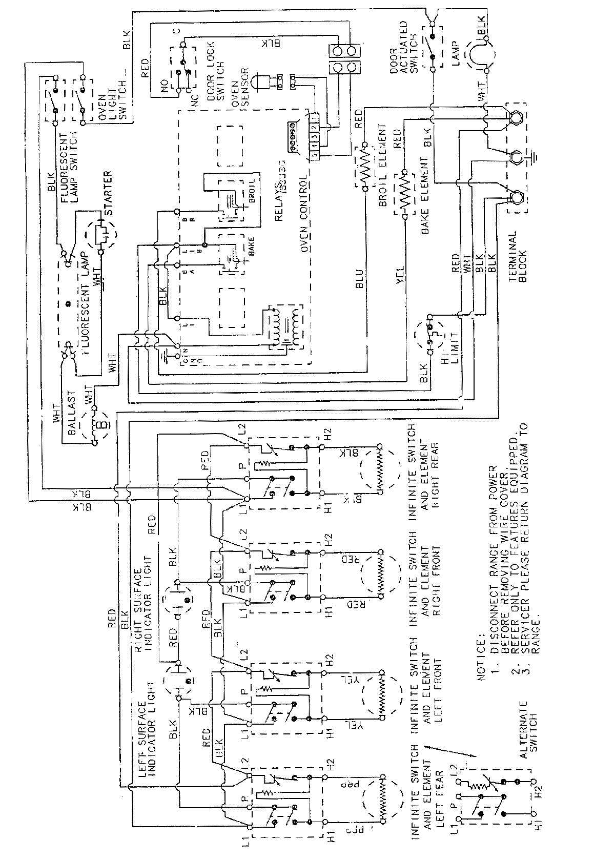
FCE10510A 06 – WIRING INFORMATIONadmin2025-04-26T09:31:03+00:00FCE10510A 06 – WIRING INFORMATION ProductsPositionProductNIMAY 15001550