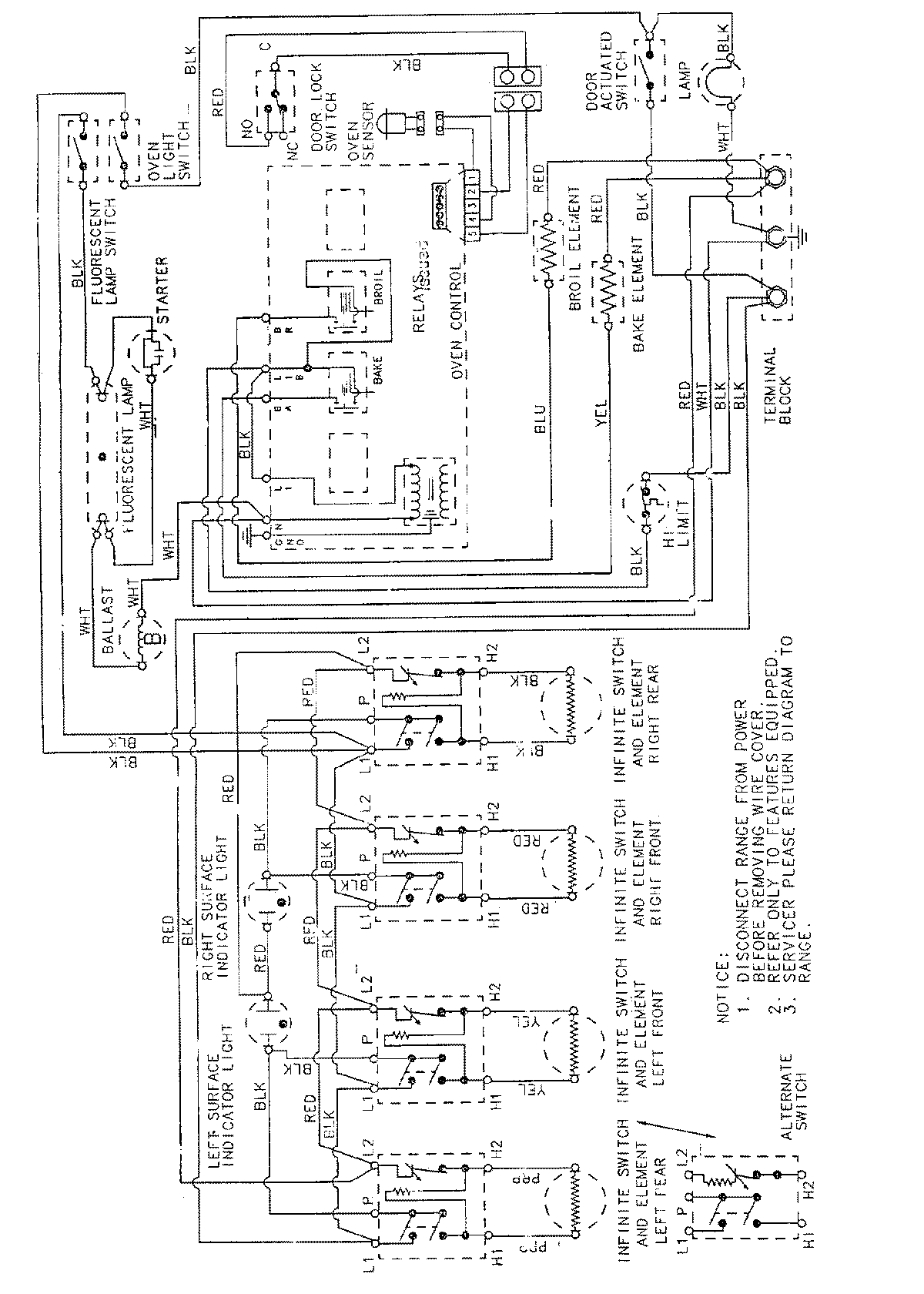
FCE10510W 04 – WIRING INFORMATIONadmin2025-04-26T09:30:16+00:00FCE10510W 04 – WIRING INFORMATION ProductsPositionProductNIMAY 15001550