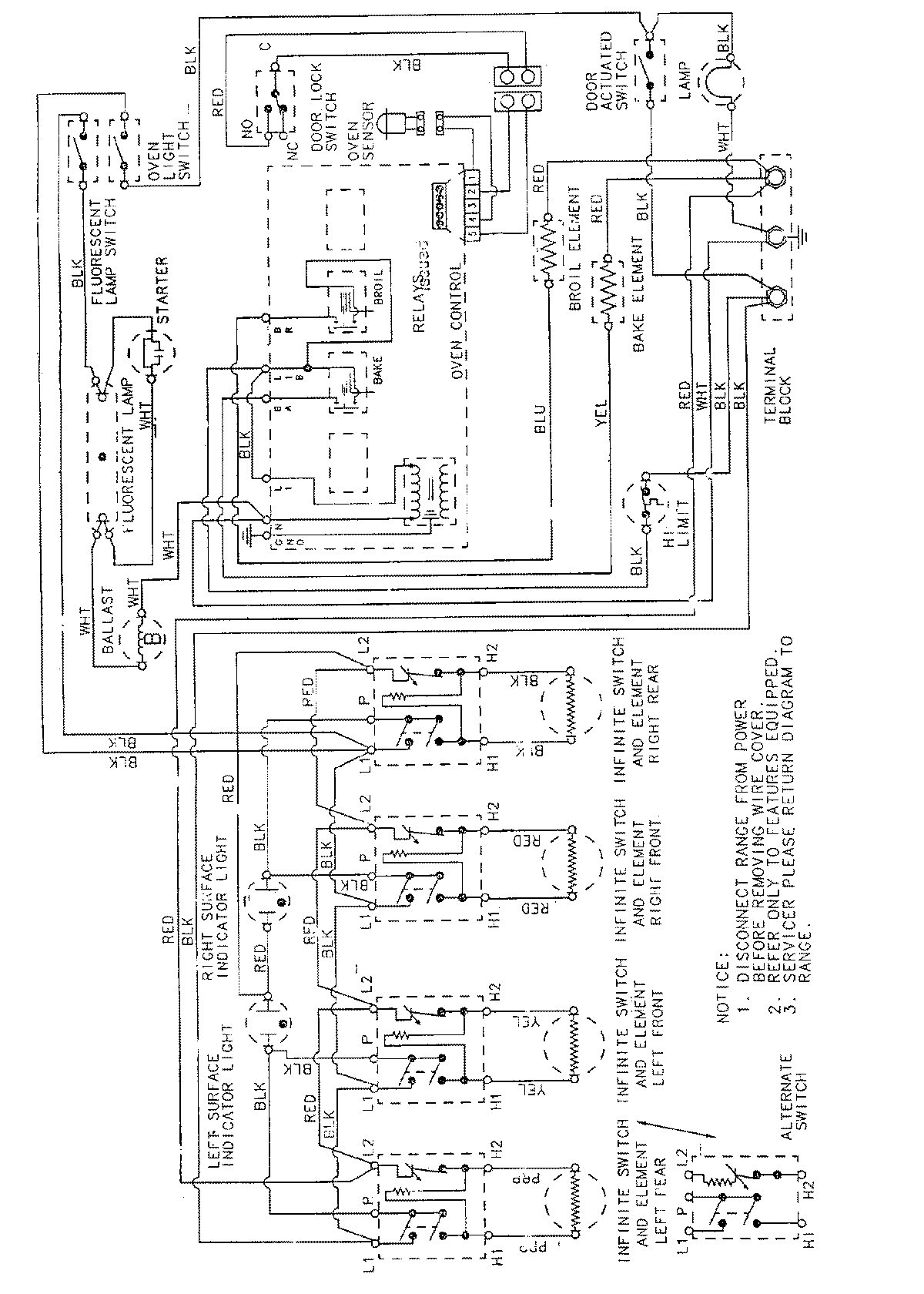
FCE10610A 06 – WIRING INFORMATIONadmin2025-04-26T09:31:18+00:00FCE10610A 06 – WIRING INFORMATION ProductsPositionProductNIMAY 15001551