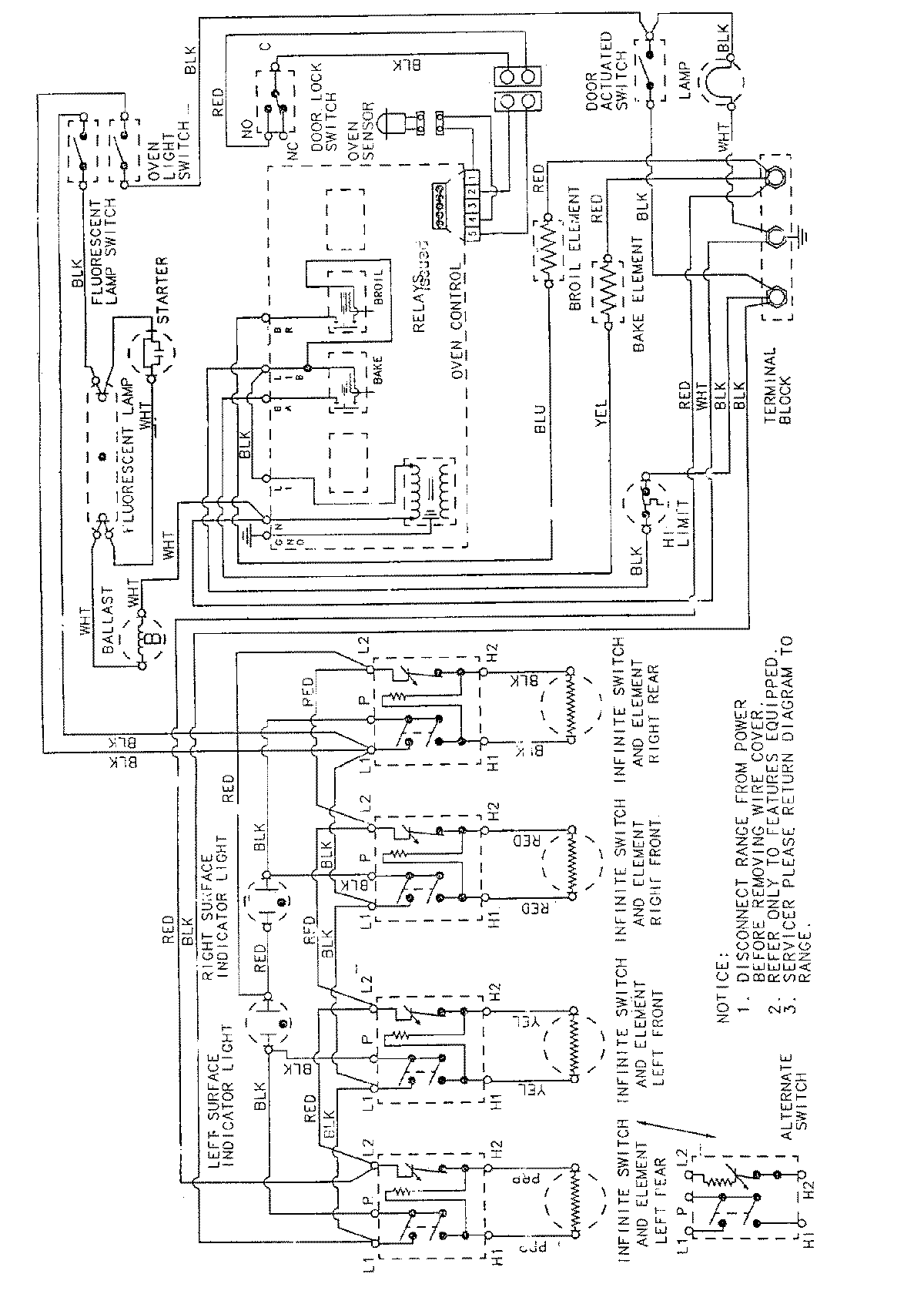
FCE10610B 06 – WIRING INFORMATIONadmin2025-04-26T09:30:45+00:00FCE10610B 06 – WIRING INFORMATION ProductsPositionProductNIMAY 15001551