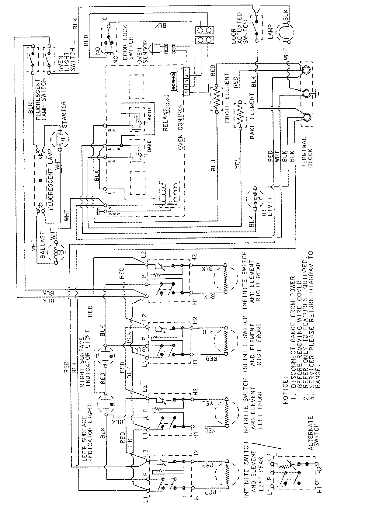
FCE10610W 06 – WIRING INFORMATIONadmin2025-04-26T09:30:38+00:00FCE10610W 06 – WIRING INFORMATION ProductsPositionProductNIMAY 15001551