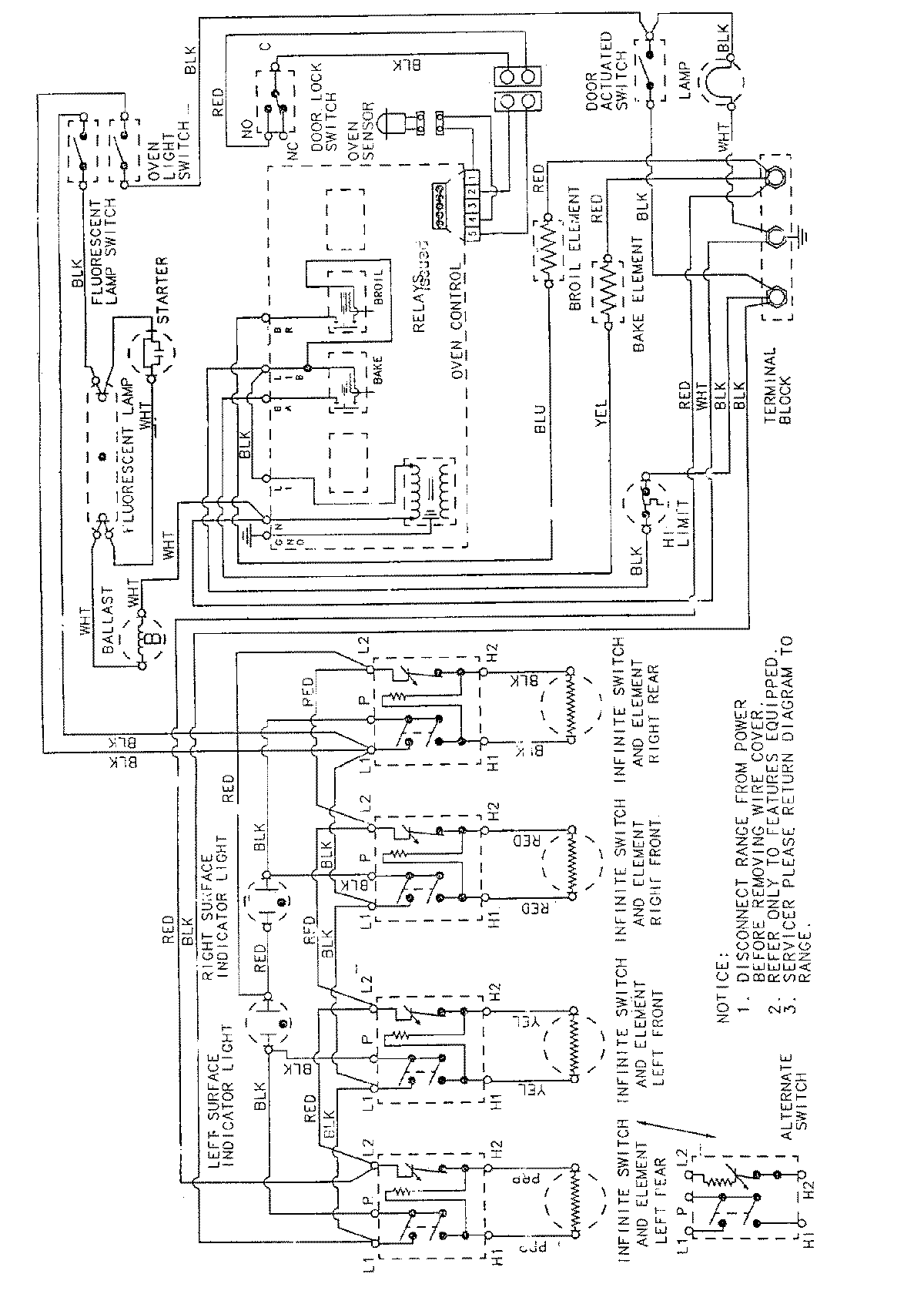
FCE2012B 06 – WIRING INFORMATIONadmin2025-04-26T09:31:01+00:00FCE2012B 06 – WIRING INFORMATION ProductsPositionProductNIMAY 15001131