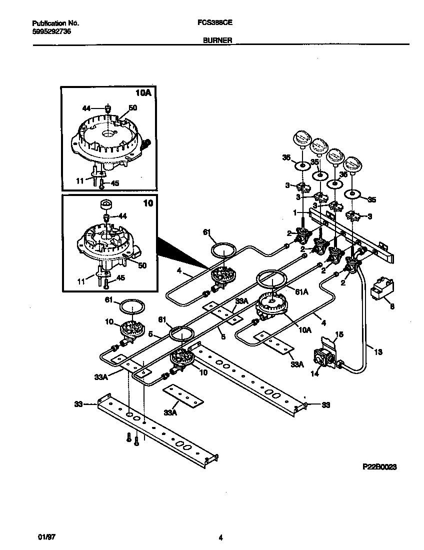
FCS388CEBB 03 – BURNER