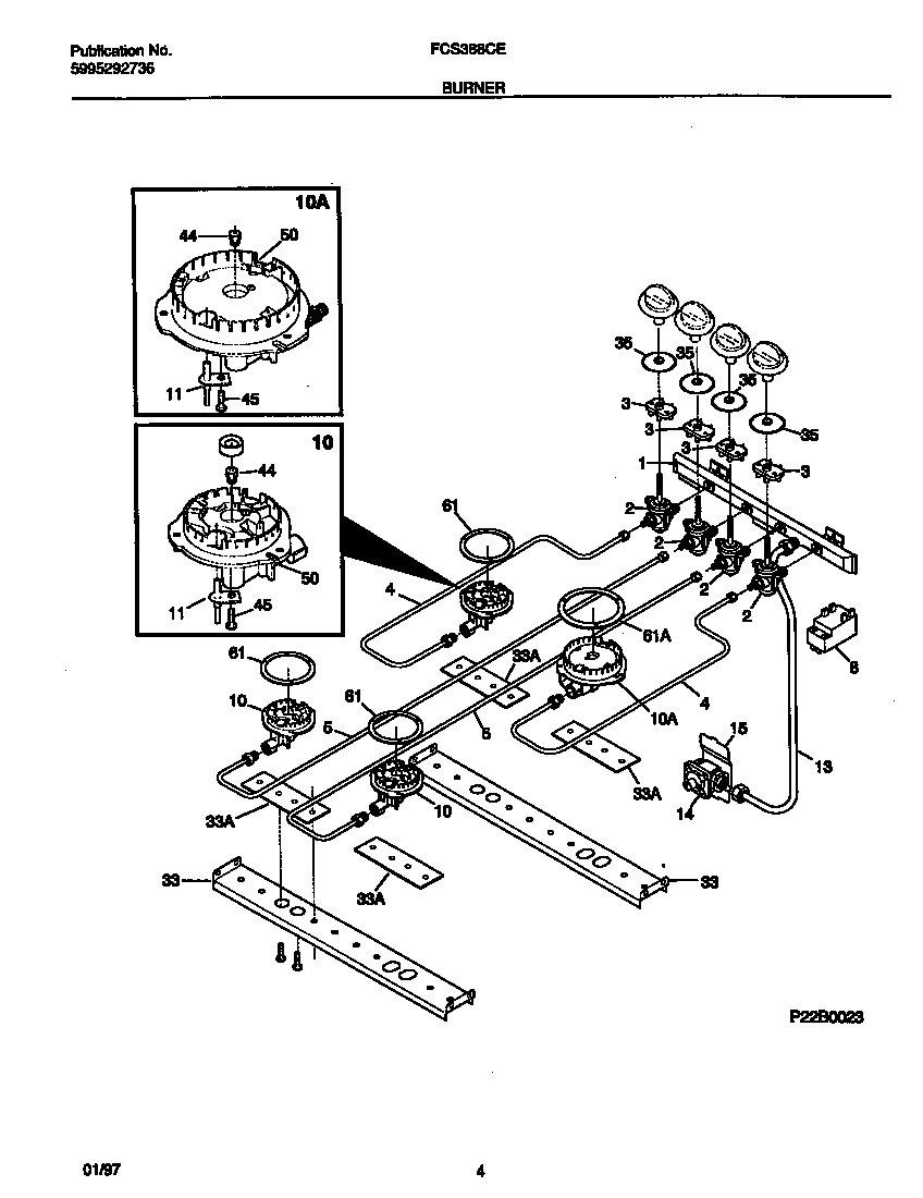
FCS388CESB 03 – BURNER