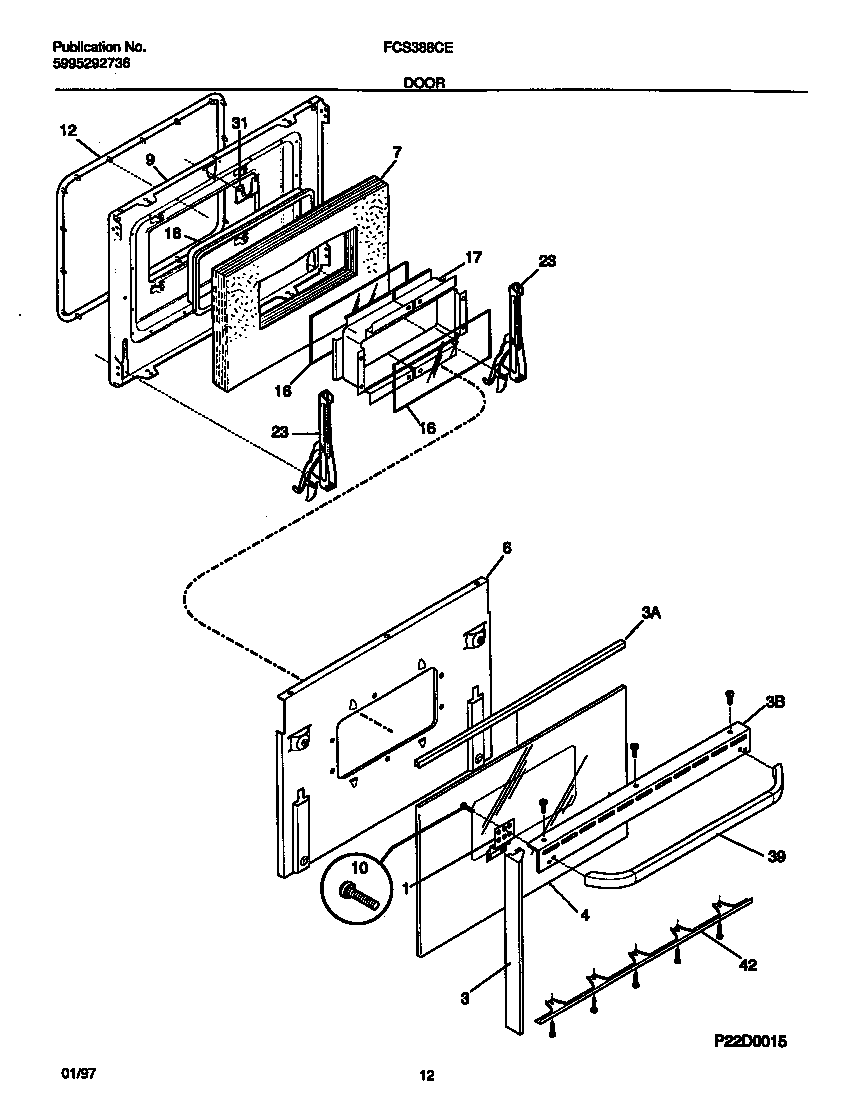
FCS388CETA 07 – DOOR