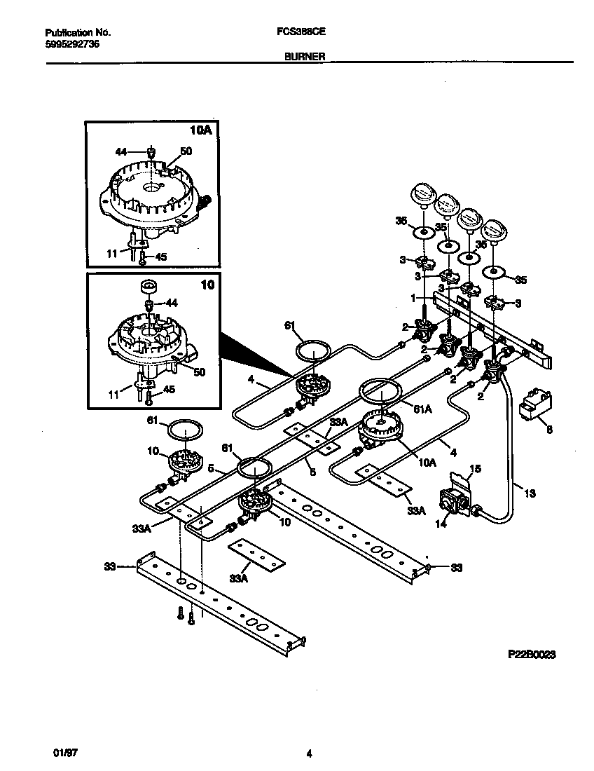
FCS388CETB 03 – BURNER