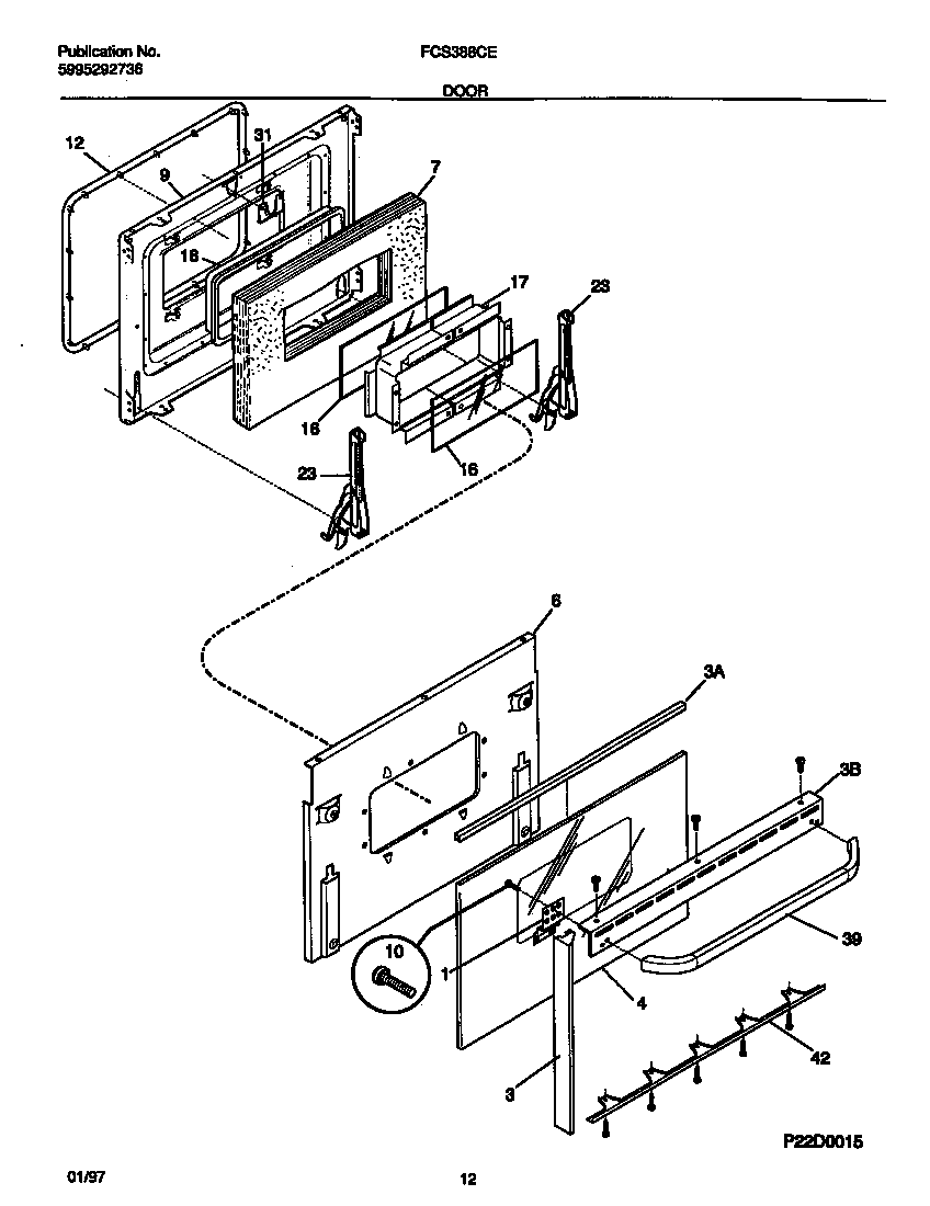
| *90796 | 5303300265 Frigidaire Oven Screw |
| *90797 | PLUG, DOOR LINER |
| *90793 | 5303211311 Frigidaire Refrigerator Screw |
| *90798 | 5304480396 Frigidaire Screw |
| 1 | WCI 318043100 |
| 3 | WCI 318028900 |
| 3 | WCI 5303311198 |
| 3 | WCI 318049207 |
| 4 | WCI 318041103 |
| 6 | WCI 318056810 |
| 7 | WCI 318106001 |
| 9 | WCI 318048800 |
| 10 | 5303307980 Frigidaire Oven Screw |
| 12 | 318053103 Frigidaire Oven Door Seal Gasket |
| 16 | GLASS-OVEN DOOR,INNER ,(2) |
| 17 | WCI 318042102 |
| 18 | WCI 318053001 |
| 23 | Hinge,oven door |
| 31 | WCI 5303310536 |
| 39A | WCI 316091120 |
| 39B | SPACER-HANDLE,ALMOND |
| 42 | WCI 318049021 |