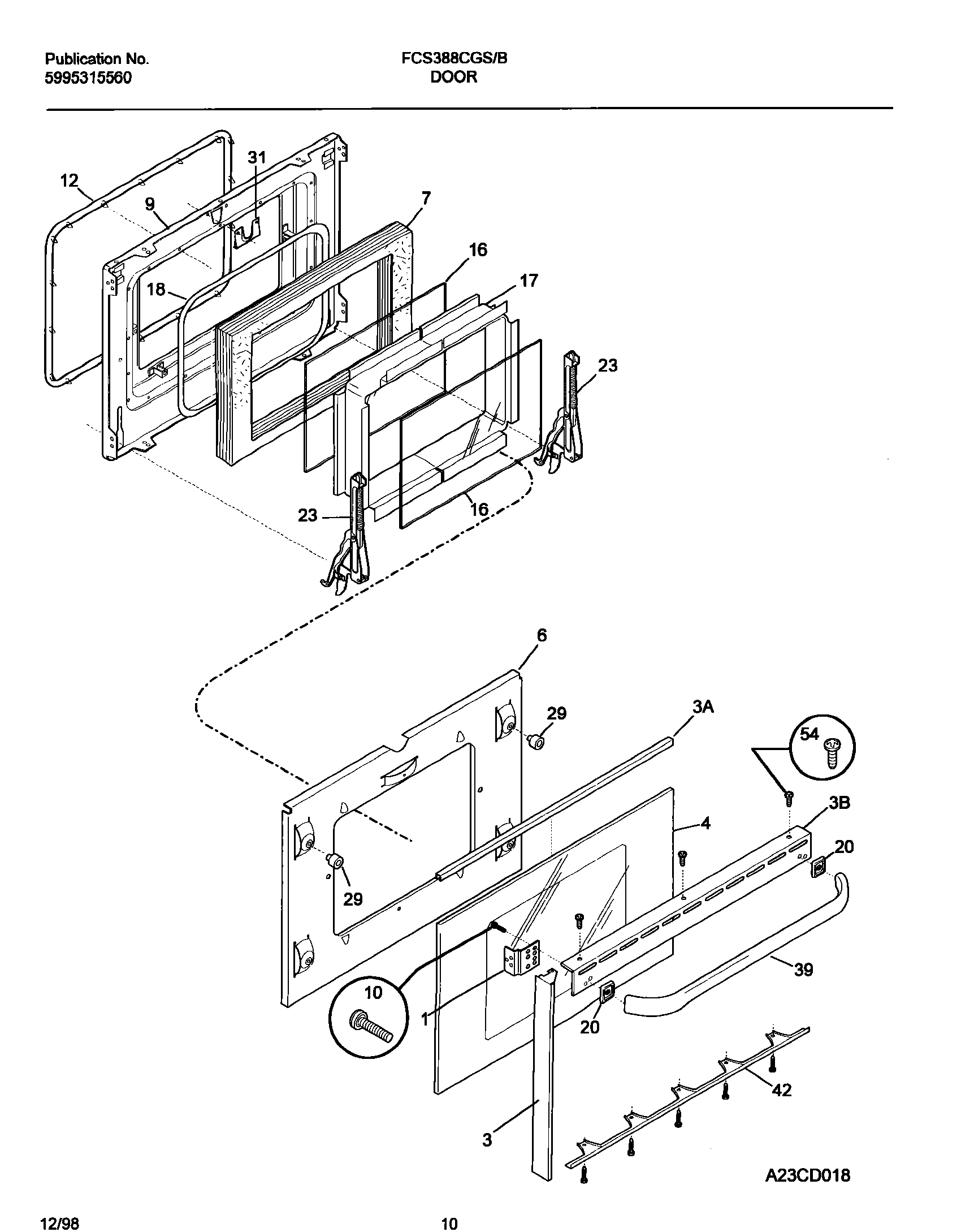
| NI | SCREW,TRUSS HEAD,8-18 X 0.375 |
| NI | 5303211311 Frigidaire Refrigerator Screw |
| 1 | WCI 318043100 |
| 3B | Trim,oven door ,black ,upper |
| 3 | TRIM-OVEN DOOR,BLACK ,SIDE ,(2) |
| 3A | WCI 318028900 |
| 4 | WCI 318041105 |
| 6 | SHIELD-INSULATION |
| 7 | WCI 318106001 |
| 9 | WCI 318048802 |
| 10 | SCREW |
| 12 | 318053103 Frigidaire Oven Door Seal Gasket |
| 16 | GLASS-OVEN DOOR,INNER ,(2) |
| 17 | WCI 318042102 |
| 18 | WCI 318053001 |
| 20 | WCI 318014300 |
| 23 | 5300809968 Frigidaire Dishwasher P-1 Washer |
| 23 | WCI 5303311215 |
| 29 | WCI 5303310535 |
| 31 | WCI 5303310536 |
| 39 | HANDLE-DOOR,BLACK ,OVEN |
| 42 | WCI 5303311200 |
| 54 | 5303308456 Frigidaire Oven Screw |