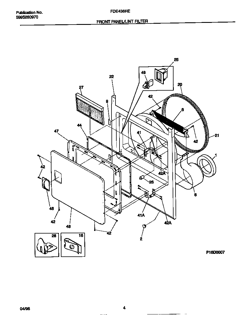
FDE436RET0 03 – FRONT PANEL/LINT FILTERadmin2025-04-26T09:00:51+00:00FDE436RET0 03 – FRONT PANEL/LINT FILTER ProductsPositionProduct1134417000 Frigidaire Seal2WCI 1314323016WCI 1313772008WCI 1314504009WCI 13141830116WCI 131063700205303937139 Frigidaire Dryer Felt Seal and Glide Kit Drum215303283286 Frigidaire Drum Felt Seal Lower Front22WCI 13136312325131658800 Frigidaire Dryer Door Catch Repair Kit26SWITCH-DOOR27131450300 Frigidaire Dryer Lint Screen Filter28CLIP GUIDE (4)41HINGE-LOWER41HINGE-UPPER42131302800 Frigidaire Drum Vane Screw42134156200 Frigidaire Screw44137551901 Frigidaire Gasket46WCI 13148440147WCI 13137670548WCI 131376805495303207102 Frigidaire Door Strike