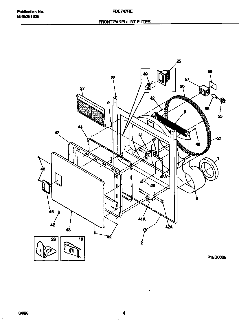
FDE747RES0 03 – FRONT PANEL/LINT FILTERadmin2025-04-26T09:02:56+00:00FDE747RES0 03 – FRONT PANEL/LINT FILTER ProductsPositionProduct1134417000 Frigidaire Seal2131397000 Frigidaire Plug6WCI 1313772008WCI 1314504009WCI 13141830016WCI 131063700205303937139 Frigidaire Dryer Felt Seal and Glide Kit Drum215303283286 Frigidaire Drum Felt Seal Lower Front22WCI 13137742025131658800 Frigidaire Dryer Door Catch Repair Kit26DOOR-SWITCH27131450300 Frigidaire Dryer Lint Screen Filter28CLIP GUIDE (4)41HINGE-LOWER41HINGE-UPPER42134156200 Frigidaire Screw42131302800 Frigidaire Drum Vane Screw44137551901 Frigidaire Gasket46131644700 Frigidaire Dryer Door Handle (White)47WCI 13137670448WCI 131376804495303207102 Frigidaire Door Strike55131843500 Frigidaire Washer Appliance Lamp Light Bulb Assembly