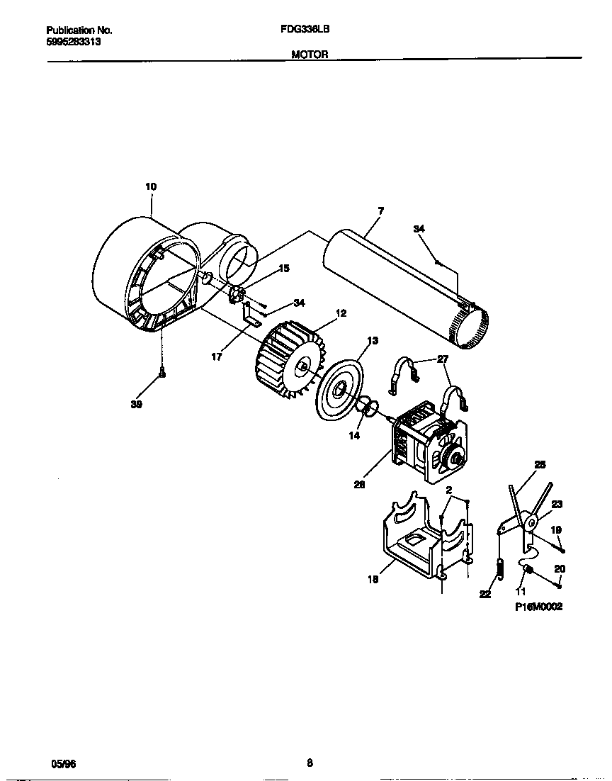
FDG336LBS2 05 – MOTOR