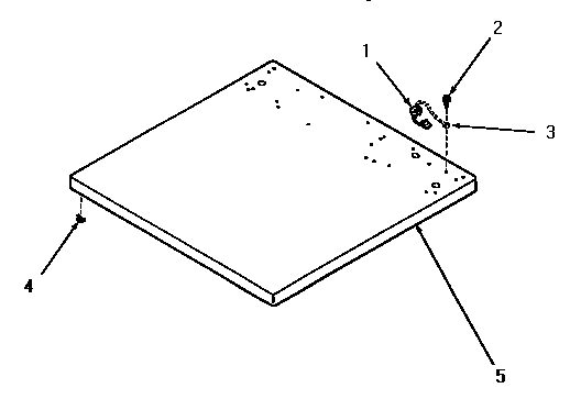
FE0630 01 – CABINET TOP
Products
| Position | Product |
|---|---|
| 1 | MAY 52151 |
| 2 | MAY 51924 |
| 3 | SEE NOTE GROUND WIRE, GREEN |
| 4 | MAY 23007 |
| 5 | MAY 54759A |
| 5 | MAY 54759C |
| 5 | MAY 54759H |
| 5 | MAY 54759W |
FE0630 01 – CABINET TOP
| Position | Product |
|---|---|
| 1 | MAY 52151 |
| 2 | MAY 51924 |
| 3 | SEE NOTE GROUND WIRE, GREEN |
| 4 | MAY 23007 |
| 5 | MAY 54759A |
| 5 | MAY 54759C |
| 5 | MAY 54759H |
| 5 | MAY 54759W |