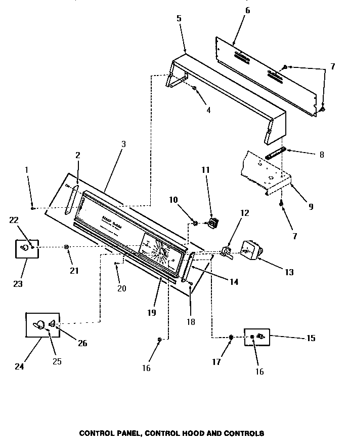
FE3130 03 – CONTROL PANEL, CONTROL HOOD & CONTROLS