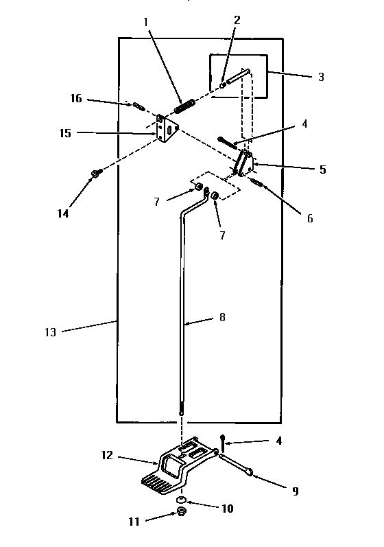
FE3130 04 – DOOR RELEASE