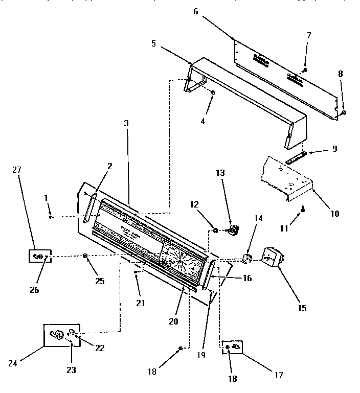
FE3850 03 – CONTROL PANEL, CONTROL HOOD AND CONTROLS