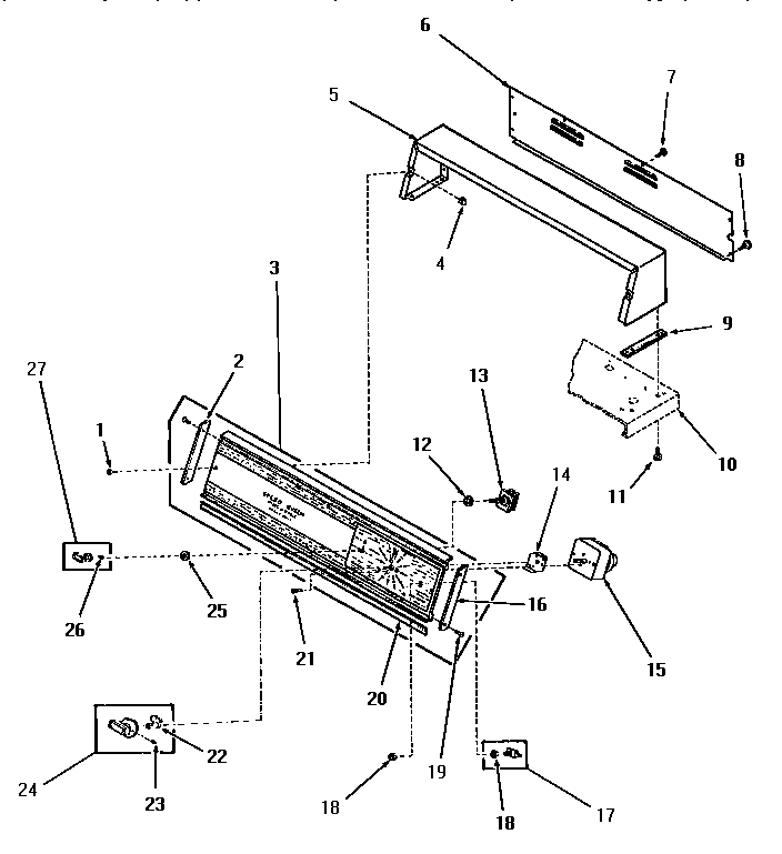
FE3851 03 – CONTROL PANEL, CONTROL HOOD AND CONTROLSadmin2025-04-26T09:29:42+00:00FE3851 03 – CONTROL PANEL, CONTROL HOOD AND CONTROLS ProductsPositionProduct1MAY 252322MAY 250723MAY 00555294MAY 540385MAY 52530W5MAY 52530H5MAY 52530A6MAY 52539GR7WP3177991 Whirlpool Screw8MAY 257249MAY 2302810SEE NOTE GROUND WIRE, GREEN11WP90767 Whirlpool Screw12MAY 9117613MAY 5262414MAY 2596615MAY 5261016MAY 2507317MAY 5376818MAY 5294719MAY 5286420MAY Y005388021MAY Y005444122MAY 2428323MAY 2031024MAY 2429025MAY 2420526MAY 2339227MAY 24291