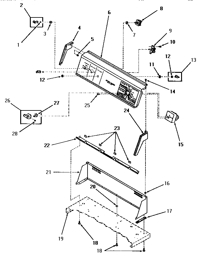
FE6031 03 – CONTROL PANEL, CONTROL HOOD AND CONTROLS

FE6031 03 – CONTROL PANEL, CONTROL HOOD AND CONTROLS