| *90338 | 5303308456 Frigidaire Oven Screw |
| *90335 | 5303300265 Frigidaire Oven Screw |
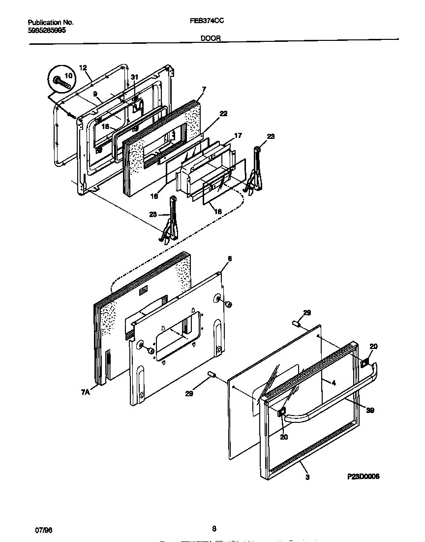
| *90332 | Plug,button |
| *90334 | SCREW,TRUSS HEAD,8-18 X 0.375 |
| *90333 | WCI 5303300414 |
| *90337 | 216858001 Frigidaire Refrigerator Screw |
| *90336 | 5303307980 Frigidaire Oven Screw |
| 3 | WCI 318026121 |
| 4 | WCI 318041302 |
| 6 | WCI 318056801 |
| 7 | WCI 5303310532 |
| 7 | WCI 5303311233 |
| 9 | WCI 318048602 |
| 10 | WCI 5303311217 |
| 12 | 318053103 Frigidaire Oven Door Seal Gasket |
| 16 | GLASS-OVEN DOOR, HEAT BARRIER |
| 17 | WCI 5303310534 |
| 18 | SEAL-ROPE |
| 20 | WCI 5303311228 |
| 22 | WCI 5303310511 |
| 23 | 5300809968 Frigidaire Dishwasher P-1 Washer |
| 23 | WCI 5303311259 |
| 29 | SPACER-HANDLE MTG, (2) |
| 31 | WCI 318065100 |
| 39 | WCI 318040404 |