| *83409 | WCI 5303269859 |
| *83408 | Plug,button |
| *83412 | WCI 5303300414 |
| *83410 | 5303307980 Frigidaire Oven Screw |
| *83411 | Foam seal,(3) |
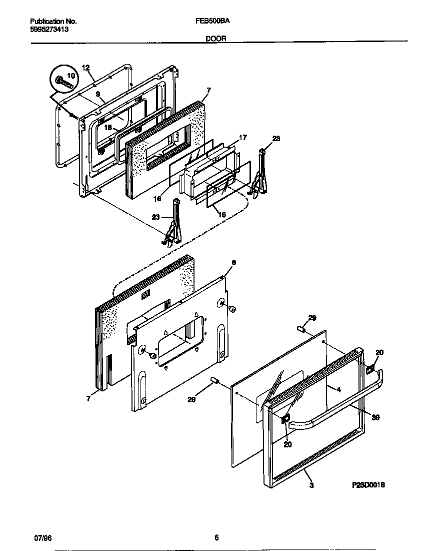
| 3 | WCI 5303212560 |
| 4 | GLASS-OVEN DOOR, BLACK, OUTER |
| 6 | WCI 5303210005 |
| 7 | WCI 5303308470 |
| 9 | LINER-OVEN DOOR |
| 10 | WCI 5303311217 |
| 12 | WCI 5303316768 |
| 16 | GLASS-OVEN DOOR, HEAT BARRIER |
| 17 | SPACER-GLASS |
| 18 | SEAL-ROPE |
| 20 | WCI 5303300175 |
| 23 | HINGE-OVEN DOOR, LOWER |
| 29 | SPACER-HANDLE MTG, (2) |
| 39 | HANDLE OV DOOR |