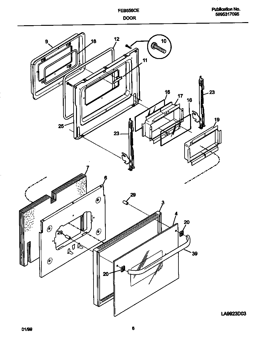
FEB556CESF 04 – DOORadmin2025-04-26T08:53:57+00:00FEB556CESF 04 – DOOR ProductsPositionProduct*63932Plug,button*639315303308456 Frigidaire Oven Screw3WCI 3180261004GLASS-OVEN DOOR,WHITE6WCI 3180736007WCI 53033084709WCI 31803860010WCI 530331121711WCI 530116783012WCI 320518916WCI 530332425017SPACER-GLASS UPPER18WCI 301626319COLLAR GLASS MTG20WCI 31801430123WCI 31807410025WCI 31804830029SPACER-HANDLE MTG, (2)39HANDLE-DOOR,WHITE