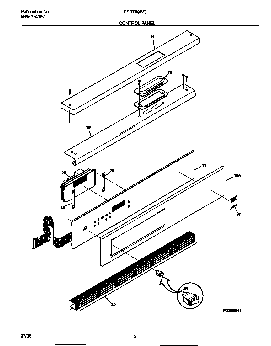
FEB789WCC1 02 – CONTROL PANELadmin2025-04-26T08:55:55+00:00FEB789WCC1 02 – CONTROL PANEL ProductsPositionProduct*134005303300265 Frigidaire Oven Screw*13403WCI 5303300414*13401216858001 Frigidaire Refrigerator Screw*13402WCI 5303311528*134045303211311 Frigidaire Refrigerator Screw19WCI 31804170019WCI 31803020020WCI 530331121021SCREW, TOP TRIM, 6-32 X 3/8, BLACK, (2) (NOT ILLUSTRATED21WCI 31802830023WCI 5303311211245304527841 Frigidaire Oven Rocker Switch (Black)42WCI 31802731051NAMEPLATE78WCI 31603770078WCI 31603780078WCI 31803720079WCI 318029602