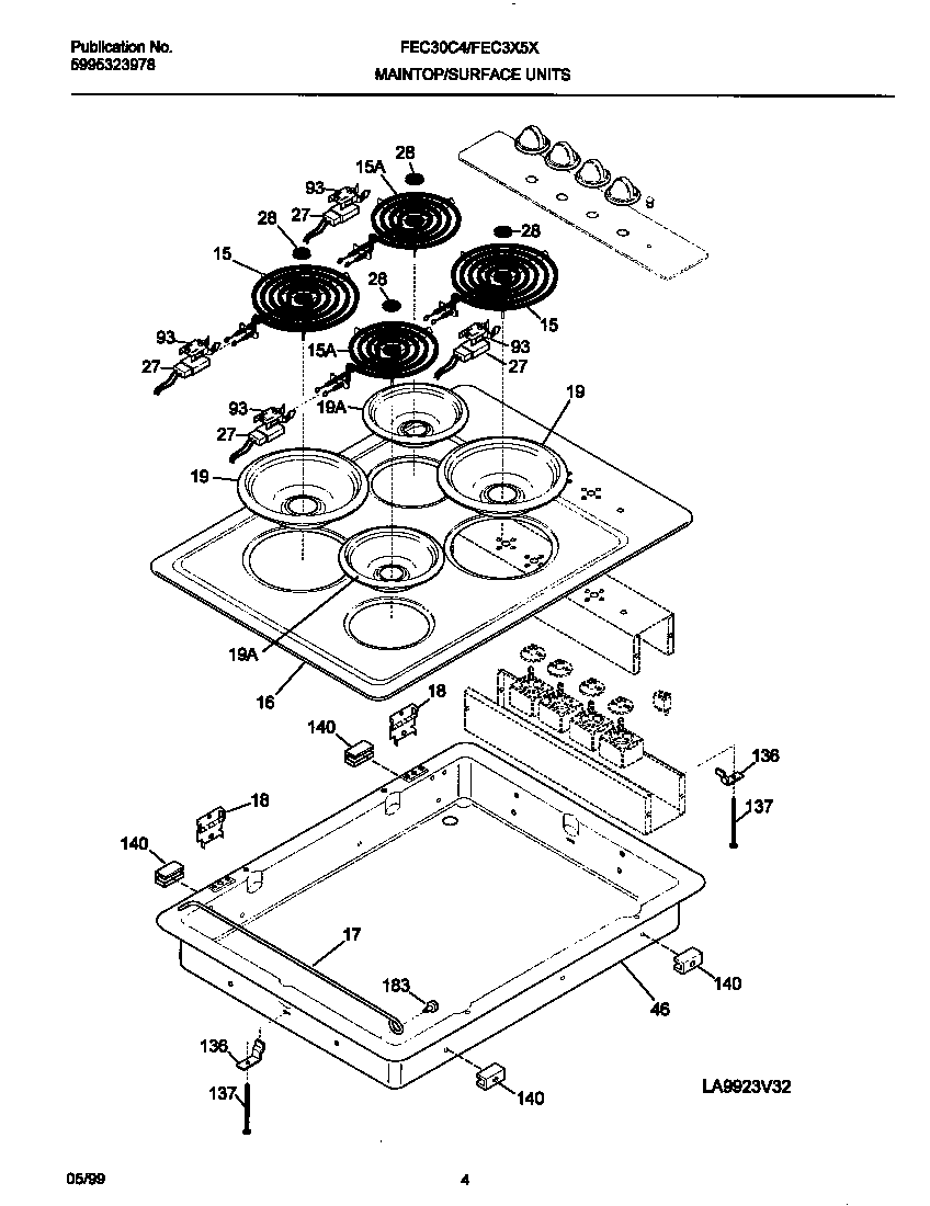
FEC30C4HTA 03 – MAINTOP/ELEMENTSadmin2025-04-26T08:56:08+00:00FEC30C4HTA 03 – MAINTOP/ELEMENTS ProductsPositionProduct*62407WCI 5304403070*62410WCI 5303325982*62401WCI 5301506869*624085303288566 Frigidaire Screw*62406316524400 Frigidaire Oven Screw*624025300803416 Frigidaire Dishwasher Screw*624035304464772 Frigidaire Refrigerator Wire Tie*624095303323139 Frigidaire Oven Screw*62405WCI 5303323364*624115303323130 Frigidaire Oven Screw15ELEMENT-SURFACE 1250W155308011964 Frigidaire Surface Element P116WCI 31815902217WCI 301681718HINGE MAIN TOP19316048414 Frigidaire Oven Range Chrome 6" Drip Bowl19316048413 Frigidaire Oven Range Chrome 8" Drip Bow27TERMINAL BLOCK, SURFACE ELEMENT28WCI 530330146146WCI 31807740193WCI 318122500136SUPPORT137WCI 5303323138140SPACER183WCI 5304410665