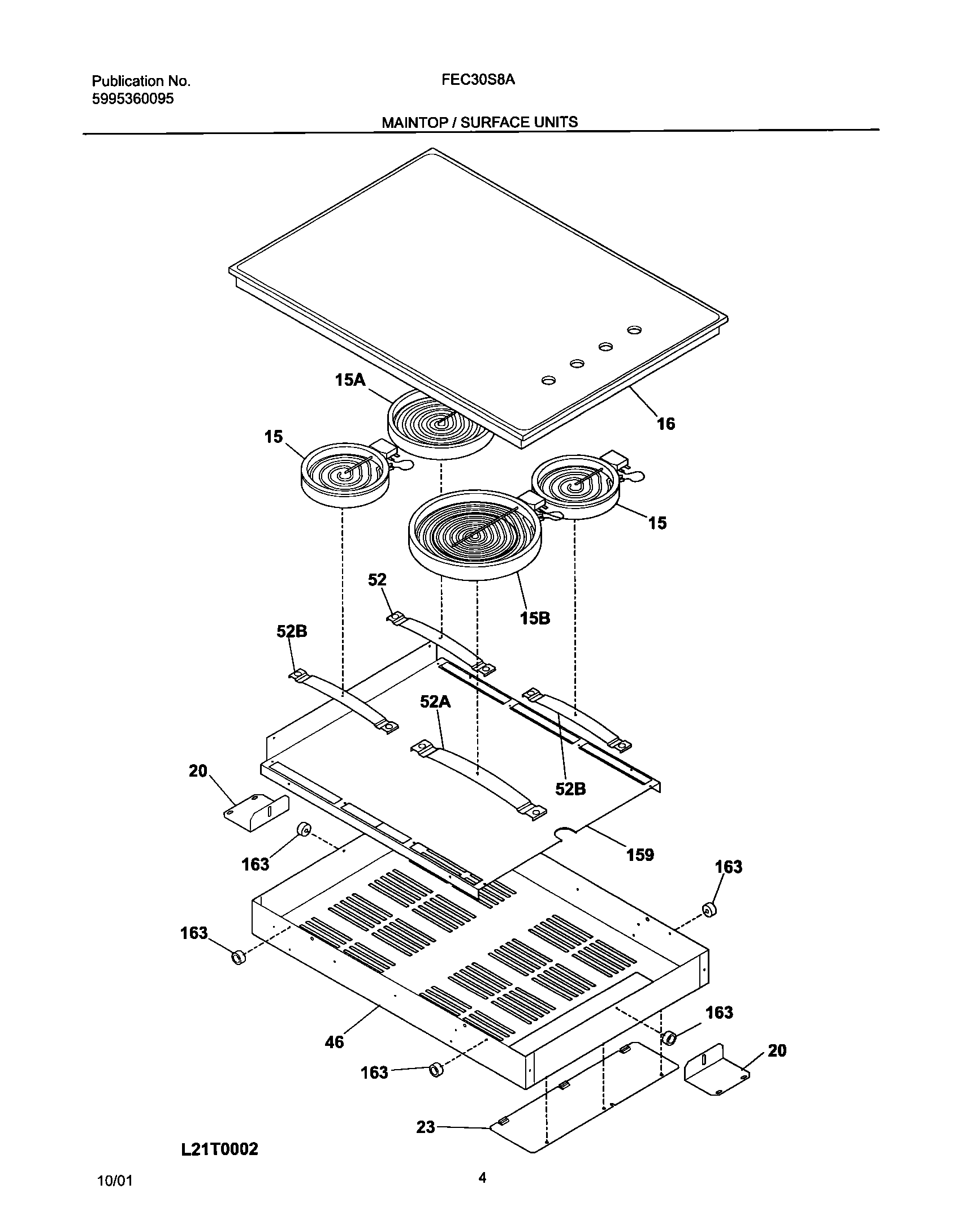
FEC30S6ABA 05 – MAINTOP/SURFACE UNITSadmin2025-04-26T08:56:38+00:00FEC30S6ABA 05 – MAINTOP/SURFACE UNITS ProductsPositionProductNISCREW,TRUSS HEAD,8-18 X 0.375NIWCI 5303323364NIWCI 5303323131NI5303323129 Frigidaire Oven Screw15318178110 Frigidaire Oven Range 6" Surface Element15B9" RADIANT ELEMENT 2500W15A318198834 Frigidaire Oven Element16WCI 31807934820318121902 Frigidaire Oven Bracket Assembly23WCI 31819470146WCI 31807721452B318122006 Frigidaire Small Element Mounting Spring52A318122010 Frigidaire Oven Spring Assembly52WCI 318122007159WCI 318125112163318531702 Frigidaire Oven Spacer