| NI | 5308014215 Frigidaire Oven Screw |
| NI | 305452800 Frigidaire Screw |
| NI | WCI 387629100 |
| NI | WCI 318078564 |
| NI | SCREW, (4) |
| NI | 305351200 Frigidaire Rivet |
| NI | 305309606 Frigidaire Oven Screw |
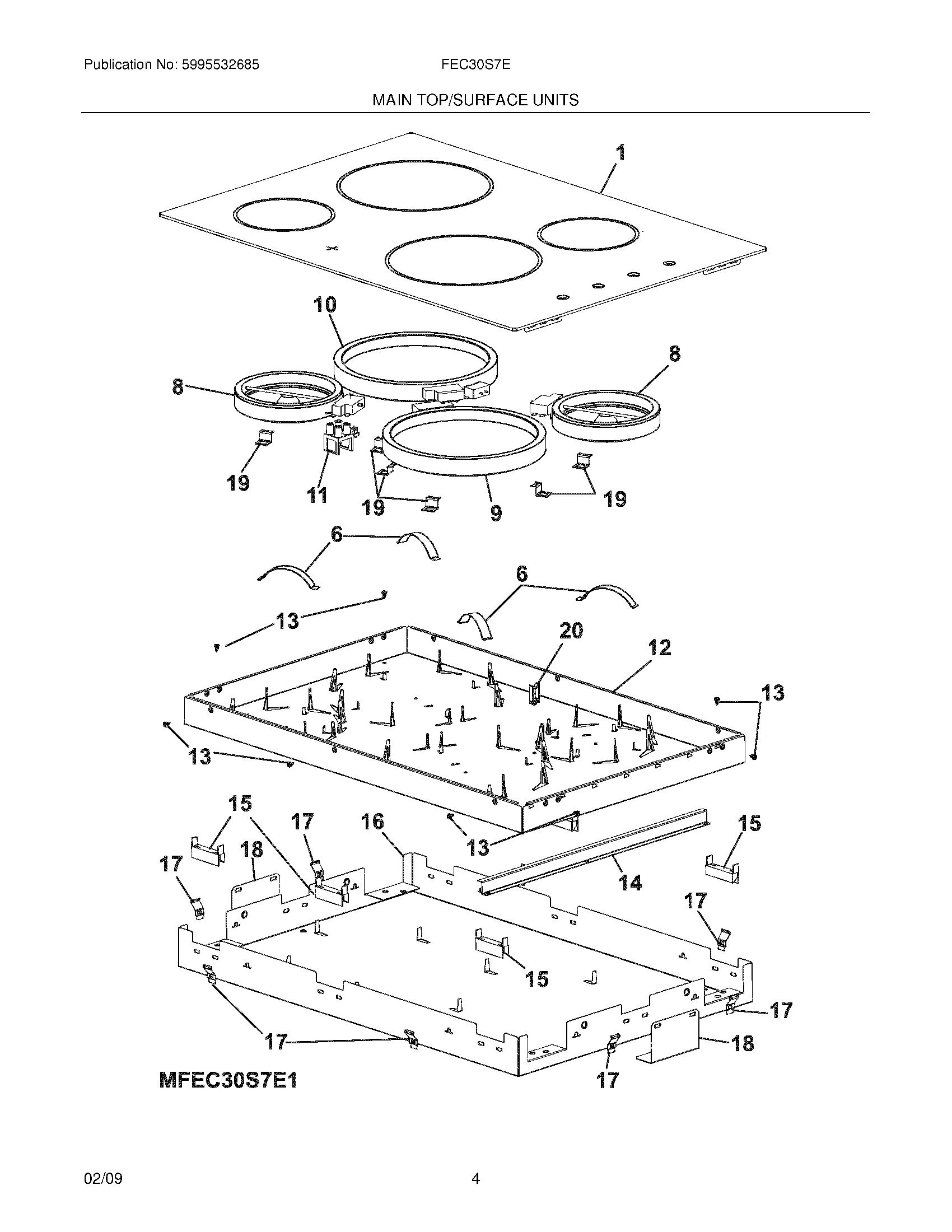
| 1 | WCI 305379396 |
| 6 | 387372900 Frigidaire SPRING |
| 8 | A02843501 Frigidaire Element |
| 9 | WCI 305440405 |
| 10 | WCI 305440407 |
| 11 | 387812004 Frigidaire Light Assembly |
| 12 | WCI 387558700 |
| 13 | 330447900 Frigidaire Oven Screw |
| 14 | 387683500 Frigidaire Support |
| 15 | 387627600 Frigidaire Spacer |
| 16 | WCI 387559400 |
| 17 | 387174602 Frigidaire Oven Bracket |
| 18 | 387627700 Frigidaire Oven Bracket |
| 19 | 387683300 Frigidaire Bracket |
| 20 | WCI 387727700 |