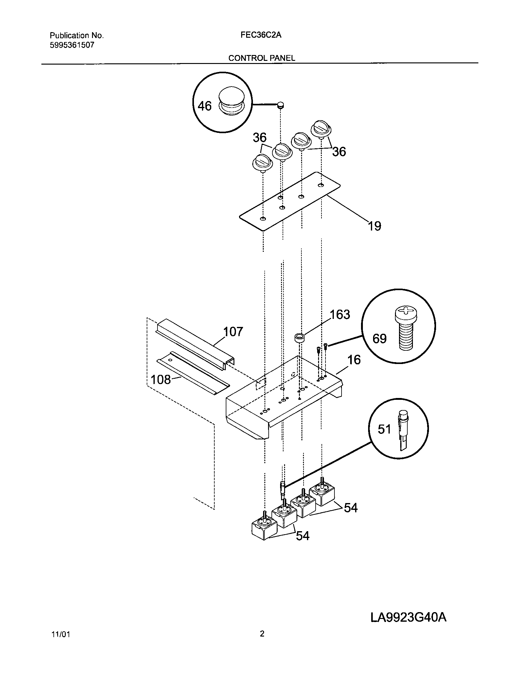
FEC36C2AQA 03 – CONTROL PANELadmin2025-04-26T08:56:43+00:00FEC36C2AQA 03 – CONTROL PANEL ProductsPositionProductNI5304480396 Frigidaire ScrewNISEAL-INDICATOR LIGHTNIWCI 318146010NI5304500008 Frigidaire Oven ScrewNI316524400 Frigidaire Oven Screw16PLATE, INSTRUMENT MTG19WCI 31802100536WCI 318196605465304462665 Frigidaire Oven Lens Kit51318044827 Frigidaire Oven Light54WCI 318120509695303288565 Frigidaire Screw107WCI 5303325928108WCI 5303325931163318531700 Frigidaire Oven Spacer