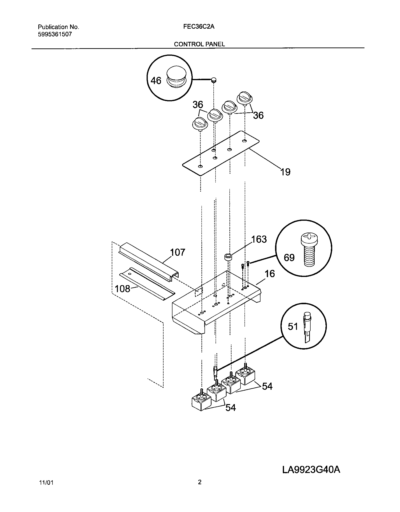
FEC36C2ASA 03 – CONTROL PANELadmin2025-04-26T08:56:42+00:00FEC36C2ASA 03 – CONTROL PANEL ProductsPositionProductNI5304480396 Frigidaire ScrewNISEAL-INDICATOR LIGHTNIWCI 318146010NI5304500008 Frigidaire Oven ScrewNI316524400 Frigidaire Oven Screw16PLATE, INSTRUMENT MTG19WCI 31802100436318196633 Frigidaire Control Knob Assembly465304462665 Frigidaire Oven Lens Kit51318044827 Frigidaire Oven Light54WCI 318120509695303288565 Frigidaire Screw107WCI 5303325928108WCI 5303325931163318531700 Frigidaire Oven Spacer