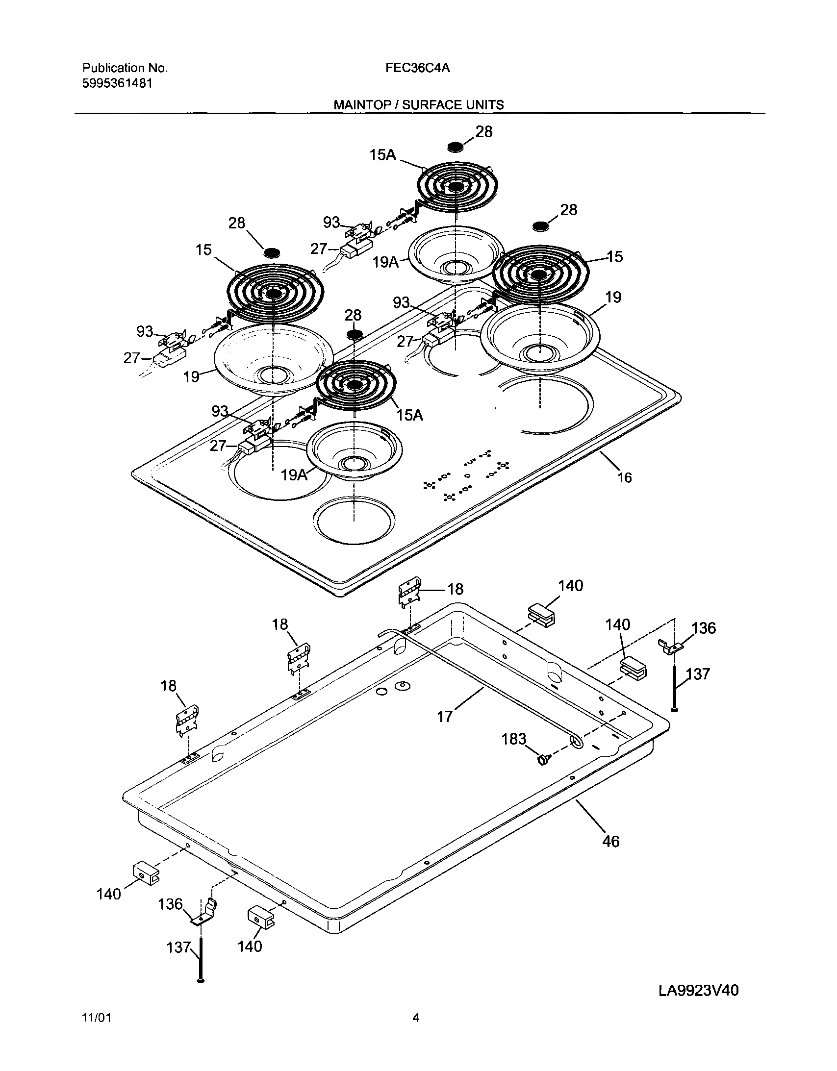
FEC36C4ACA 05 – MAINTOP/SURFACE UNITSadmin2025-04-26T08:56:12+00:00FEC36C4ACA 05 – MAINTOP/SURFACE UNITS ProductsPositionProductNIWCI 5303311366NI316524400 Frigidaire Oven ScrewNI5303288566 Frigidaire Screw15AELEMENT-SURFACE 1250W155308011964 Frigidaire Surface Element P116WCI 31815903417WCI 301681718HINGE MAIN TOP19316048413 Frigidaire Oven Range Chrome 8" Drip Bow19A316048414 Frigidaire Oven Range Chrome 6" Drip Bowl27TERMINAL BLOCK, SURFACE ELEMENT28WCI 530330146146WCI 31807701193WCI 318122500136SUPPORT137WCI 5303323138140WCI 318216000183WCI 5304410665