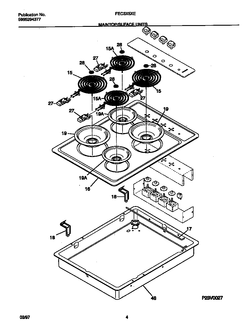
FEC3X5XESB 03 – MAINTOP/SUFACE UNITSadmin2025-04-26T08:56:00+00:00FEC3X5XESB 03 – MAINTOP/SUFACE UNITS ProductsPositionProduct*77284WCI 5303323364*772825304464772 Frigidaire Refrigerator Wire Tie*77281WCI 5301506869*77283316524400 Frigidaire Oven Screw155308011964 Frigidaire Surface Element P115ELEMENT-SURFACE 1250W16WCI 31815902117WCI 301681718HINGE MAIN TOP19316048414 Frigidaire Oven Range Chrome 6" Drip Bowl19316048413 Frigidaire Oven Range Chrome 8" Drip Bow27BWCI 31812250027A5303935058 Frigidaire Oven Burner Receptacle Kit27C5300803416 Frigidaire Dishwasher Screw28WCI 530330146146WCI 318077401