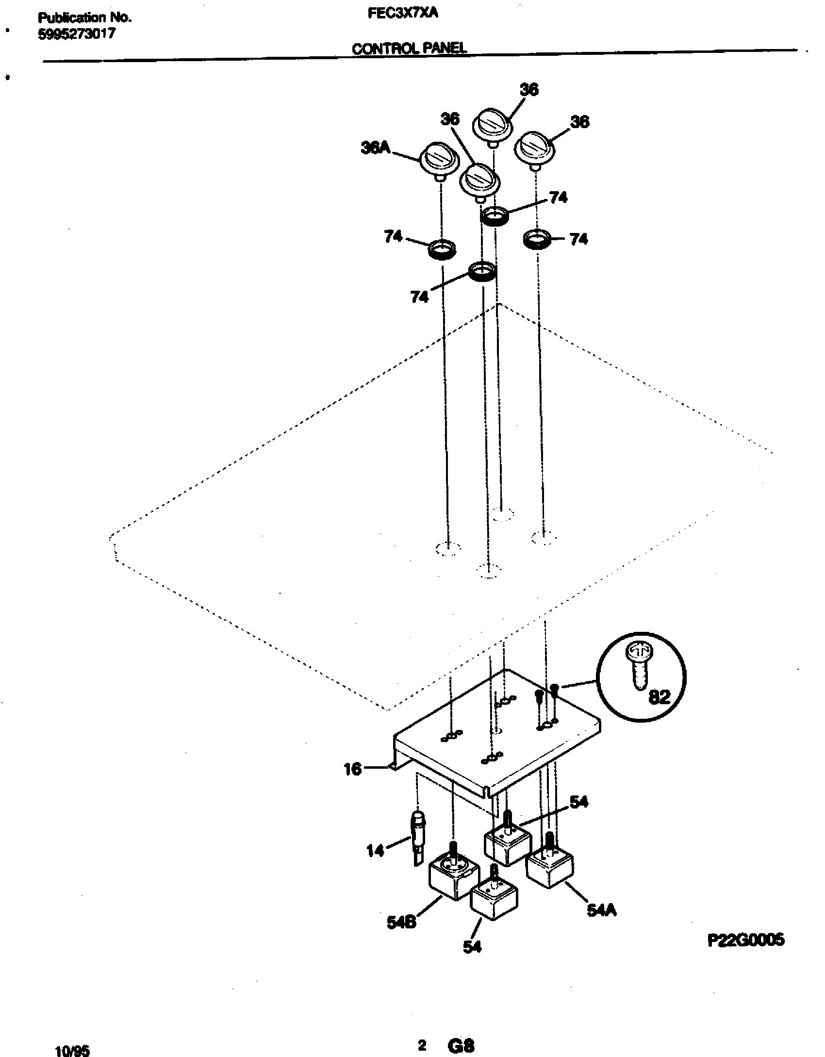
FEC3X7XAS5 03 – CONTROL PANELadmin2025-04-26T08:56:41+00:00FEC3X7XAS5 03 – CONTROL PANEL ProductsPositionProductNI5303300265 Frigidaire Oven ScrewNI5303013272 Frigidaire Oven Nut14WCI 530329748416PLATE, INSTRUMENT MTG36WCI 530330467336AWCI 530331086554SWITCH-SURFACE UNIT, 1200 W54ASWITCH-SURFACE UNIT, 2100 W54BWCI 31807820074BUSHING-SNAP825303323137 Frigidaire Oven Screw