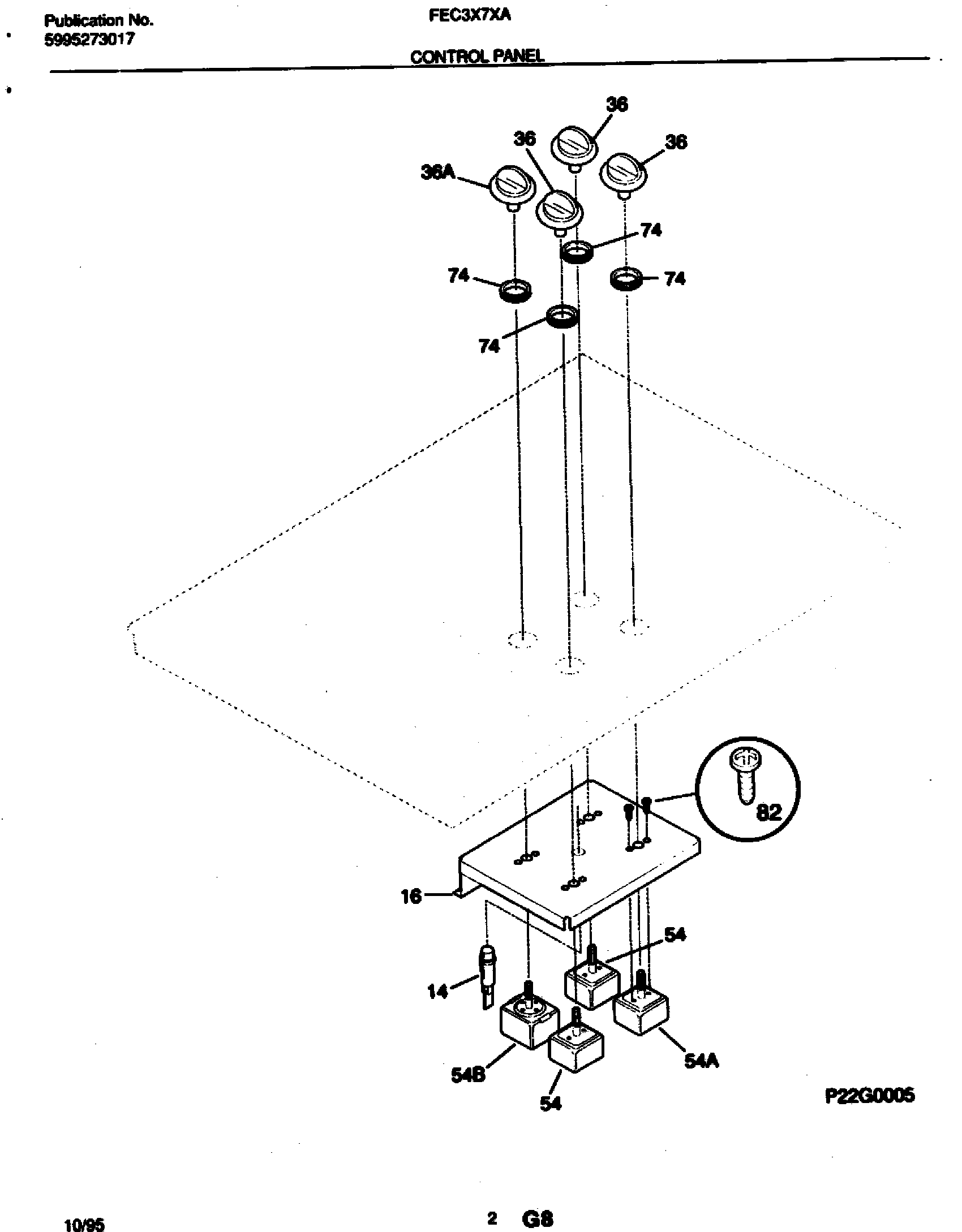
FEC3X7XATE 03 – CONTROL PANELadmin2025-04-26T08:56:13+00:00FEC3X7XATE 03 – CONTROL PANEL ProductsPositionProductNI5303300265 Frigidaire Oven ScrewNI5303013272 Frigidaire Oven Nut14WCI 530329748416PLATE, INSTRUMENT MTG36KNOB-CONTROL, (3)36AKNOB-CONTROL54SWITCH-SURFACE UNIT, 1200 W54ASWITCH-SURFACE UNIT, 2100 W54BWCI 31807820074BUSHING-SNAP825303323137 Frigidaire Oven Screw