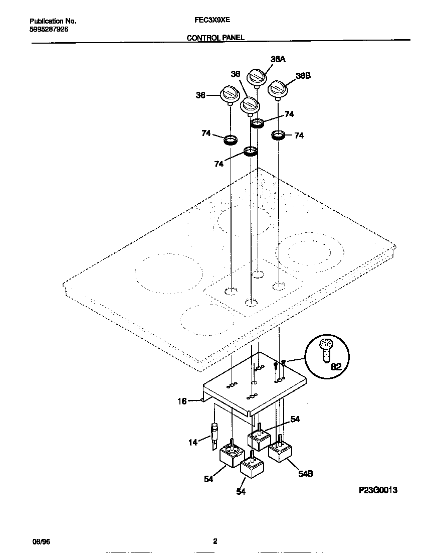
FEC3X9XESA 02 – CONTROL PANELadmin2025-04-26T10:40:53+00:00FEC3X9XESA 02 – CONTROL PANEL ProductsPositionProduct*456405303300265 Frigidaire Oven Screw14WCI 530329748416WCI 31809631236WCI 31801630036WCI 31801630154WCI 31807820054Switch,surface unit ,small/large74BUSHING82B5303323137 Frigidaire Oven Screw82ASCREW-SWITCH MTG, 8-32 X 3/16, SW TO CNTL PNL, (8)